EasyManua.ls Logo

Topcom WRIST 3301 - Page 36

Topcom WRIST 3301
76 pages
Print Icon
To Next Page IconTo Next Page
To Next Page IconTo Next Page
To Previous Page IconTo Previous Page
To Previous Page IconTo Previous Page
Loading...
36
TOPCOM BPM Arm 3301
11 Speicher
2. Wenn der richtige Druck erreicht ist, entleert sich die
Manschette.
3. Wenn die Messung abgeschlossen ist, werden der
systolische und der diastolische Wert und der Puls
gleichzeitig angezeigt und automatisch im
Speichersystem des angezeigten Speicherbereichs
gespeichert. Pro Speicherzone können bis zu 30
Messungen gespeichert werden.
Wenn während der Messung ein Fehler festgestellt
wurde, erscheint das Error-Zeichen im Display.
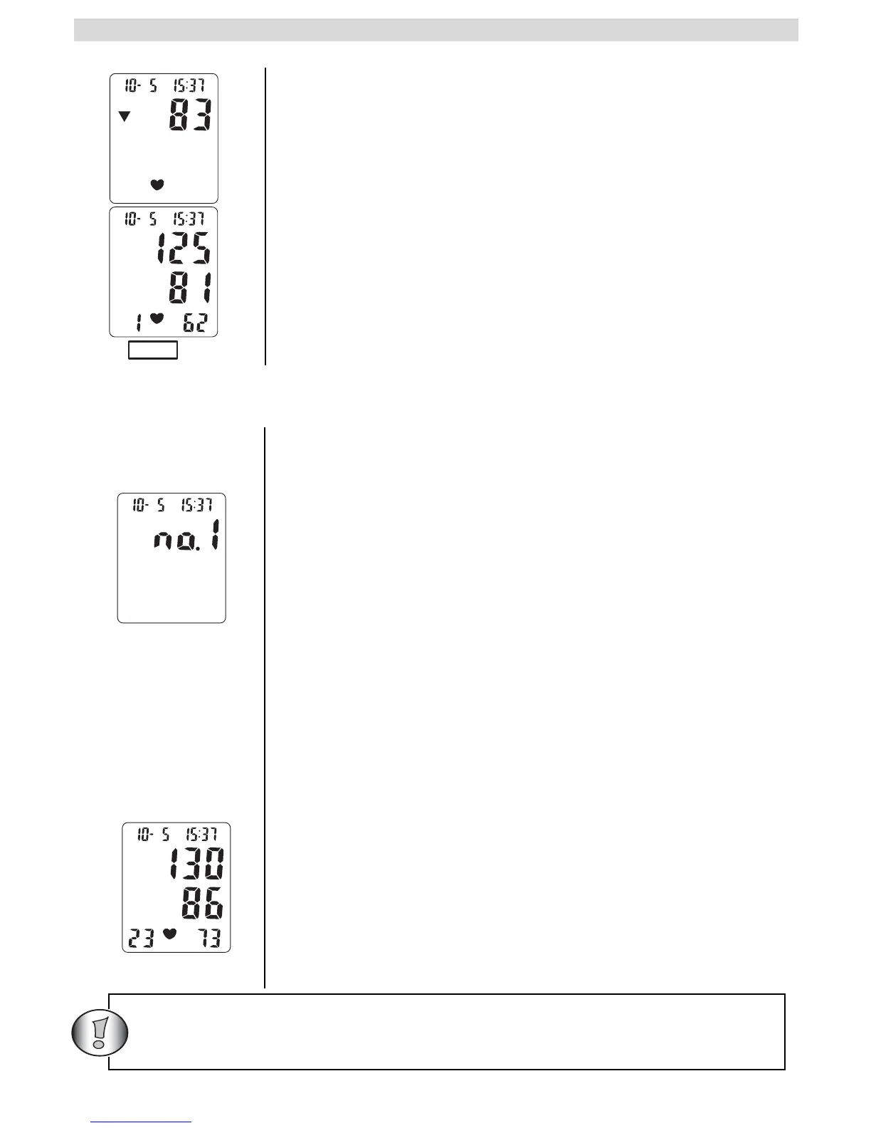
Der BPM 3301 hat 3 Speicherzonen. Jede kann bis zu 30
Messungen einschließlich Datum und Uhrzeit speichern.
Das Ergebnis wird nach der Messung automatisch in der
selektierten Speicherzone gespeichert.
Selektieren Sie die gewünschte Speicherstelle vor der
Messung, indem Sie mehrmals die EINSTELL-Taste
drücken.
Um die Messergebnisse wieder aufzurufen:
Drücken Sie mehrmals die EINSTELL-Taste um die
gewünschte Speicherzone auszuwählen.
Drücken Sie die SPEICHER-Taste um das letzte
Messergebnis anzuzeigen.
Drücken Sie die SPEICHER-Taste mehrmals
hintereinander um vorher gespeicherte Werte
anzuzeigen.
Um das Ablesen der Daten zu beenden, drücken Sie
die START-/STOPP-Taste um wieder zur normalen Zeit
zu wechseln.
Wenn Sie alle Daten in einer Speicherzone löschen wollen:
Drücken Sie mehrmals die EINSTELL-Taste um die
gewünschte Speicherzone auszuwählen.
Drücken Sie die MODE- und EINSTELL-Taste
gleichzeitig um alle Daten der selektierten
Speicherzone zu löschen.
mmHg
mmHg
ERROR
mmHg
Wenn die Batterien eingelegt sind, werden die Daten in den Speichern
nicht gelöscht, auch dann nicht, wenn das Blutdruckmessgerät
ausgeschaltet wird.

Table of Contents

Related product manuals