EasyManua.ls Logo

Toshiba RAS-137SAV-E3 - P.C. Board Layout for RAS-137 SAV-E3

Toshiba RAS-137SAV-E3
110 pages
To Next Page IconTo Next Page
To Next Page IconTo Next Page
To Previous Page IconTo Previous Page
To Previous Page IconTo Previous Page
Loading...
106
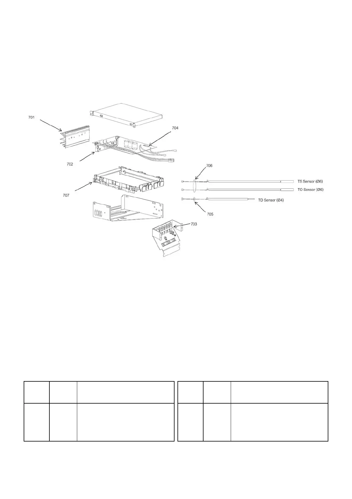
13-7. P.C. Board Layout (RAS-137SAV-E3)
FILE NO. SVM-10015-1
Location Part Location Part
No. No. No. No.
701 43T62320 HEATSINK (Made in Thailand) 705 43T60377 TEMPERATURE SENSOR
702 43T69815 PC BOARD 706 43T50304 SENSOR;HEAT EXCHANGER
703 43T60392 TERMINAL-5P (Made in Thailand)
704 43T60326 FUSE 707 43T62313 BASE-PLATE-PC (Made in Thailand)
Description Description

Table of Contents

Related product manuals