EasyManua.ls Logo

Toyota Sequoia - Page 317

Toyota Sequoia
566 pages
Print Icon
To Next Page IconTo Next Page
To Next Page IconTo Next Page
To Previous Page IconTo Previous Page
To Previous Page IconTo Previous Page
Loading...
317
4-6. Driving tips
4
Driving
SEQUOIA_OM_USA_OM0C011U
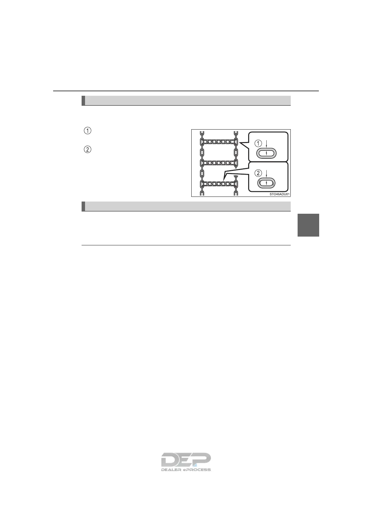
Use the correct tire chain size when mounting the tire chains.
Chain size is regulated for each tire size.
Side chain
0.20 in. (5 mm) in diameter
Cross chain
0.25 in. (6.3 mm) in diameter
Regulations regarding the use of tire chains vary depending on loca-
tion and type of road. Always check local regulations before installing
chains.
Tire chain installation
Observe the following precautions when installing and removing chains:
Install and remove tire chains in a safe location.
Install tire chains on the rear tires only. Do not install tire chains on the front
tires.
Install tire chains on rear tires as tightly as possible. Retighten chains after
driving 1/4 1/2 mile (0.5 1.0 km).
Install tire chains following the instructions provided with the tire chains.
Selecting tire chains
Regulations on the use of tire chains

Table of Contents

Other manuals for Toyota Sequoia

Related product manuals