EasyManua.ls Logo

TP-Link TL-ANT2414B - Pole Mounting

TP-Link TL-ANT2414B
6 pages
To Previous Page IconTo Previous Page
To Previous Page IconTo Previous Page
Loading...
5
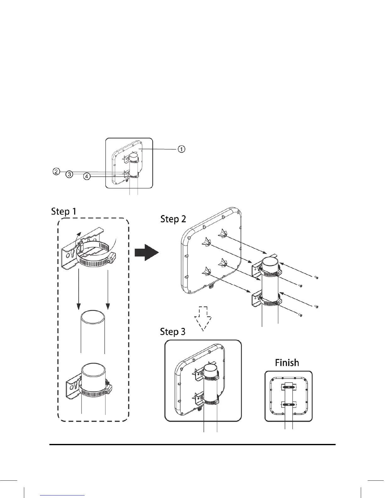
2. Pole Mounting
Antenna 1 pc
Holder 2 pc
Screws 4 pcs
Hose Clamp 2 pc

Related product manuals