EasyManua.ls Logo

Triumph Rocket 3 GT 2021 - Page 751

Triumph Rocket 3 GT 2021
1556 pages
Print Icon
To Next Page IconTo Next Page
To Next Page IconTo Next Page
To Previous Page IconTo Previous Page
To Previous Page IconTo Previous Page
Loading...
713
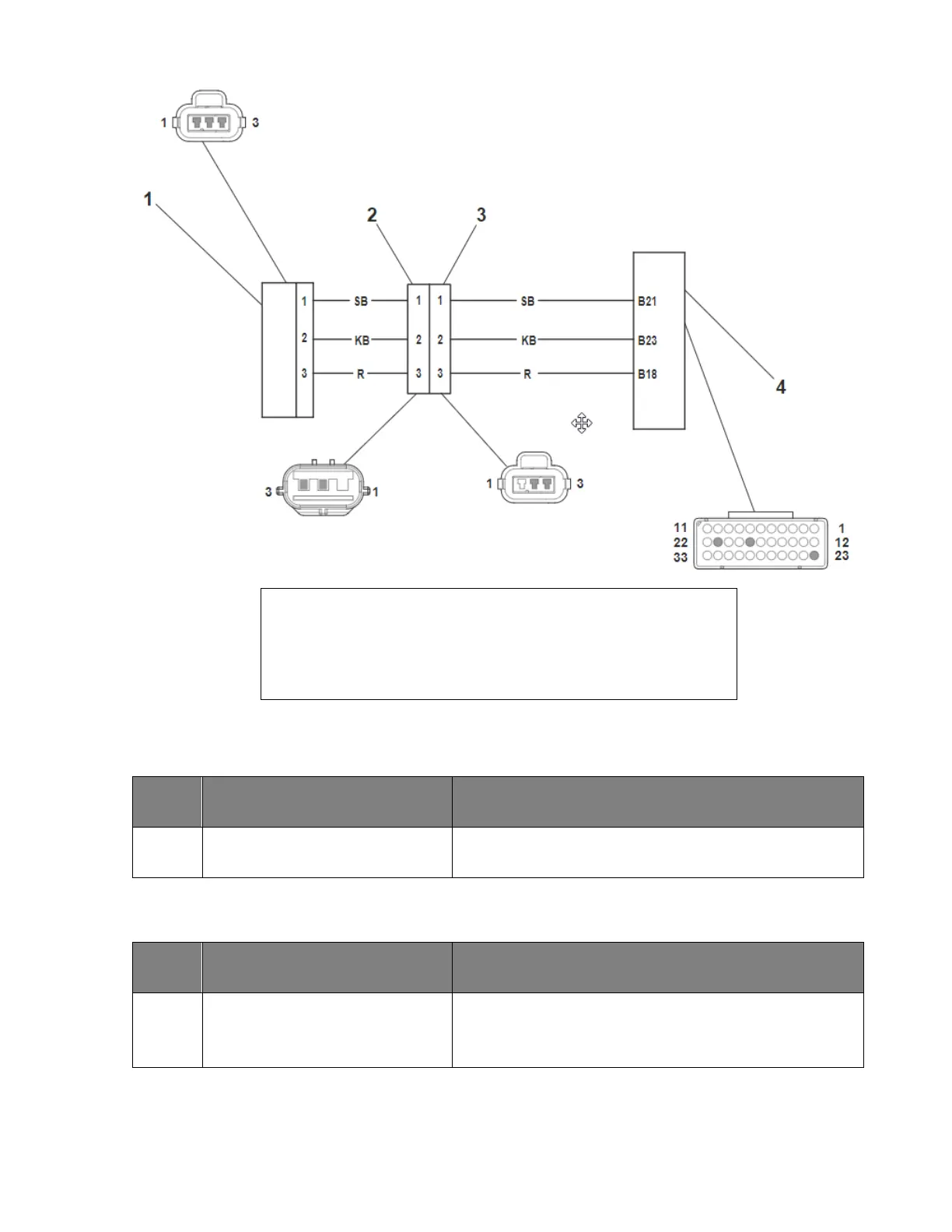
1. Shift Force Sensor
2. Triumph Shift Assist Subharness (main harness side)
3. Triumph Shift Assist Subharness (subharness side)
4. Engine ECM Connector B
EEPROM Error
Fault
Code
Possible cause
Action
P06B8
EEPROM error
View and note 'freeze frame' data if available.
No tests available - contact Triumph service.
Traction Control Disabled Due to ABS Malfunction
Fault
Code
Possible cause
Action
P1135
Traction Control disabled
due to malfunction
Check that there is no other DTC linked to the
ABS system or CAN communication stored.
Contact Triumph service.

Related product manuals