EasyManua.ls Logo

True SPL0200 - Page 24

True SPL0200
48 pages
Print Icon
To Next Page IconTo Next Page
To Next Page IconTo Next Page
To Previous Page IconTo Previous Page
To Previous Page IconTo Previous Page
Loading...
24
3
4
6
5
2
10
11
12
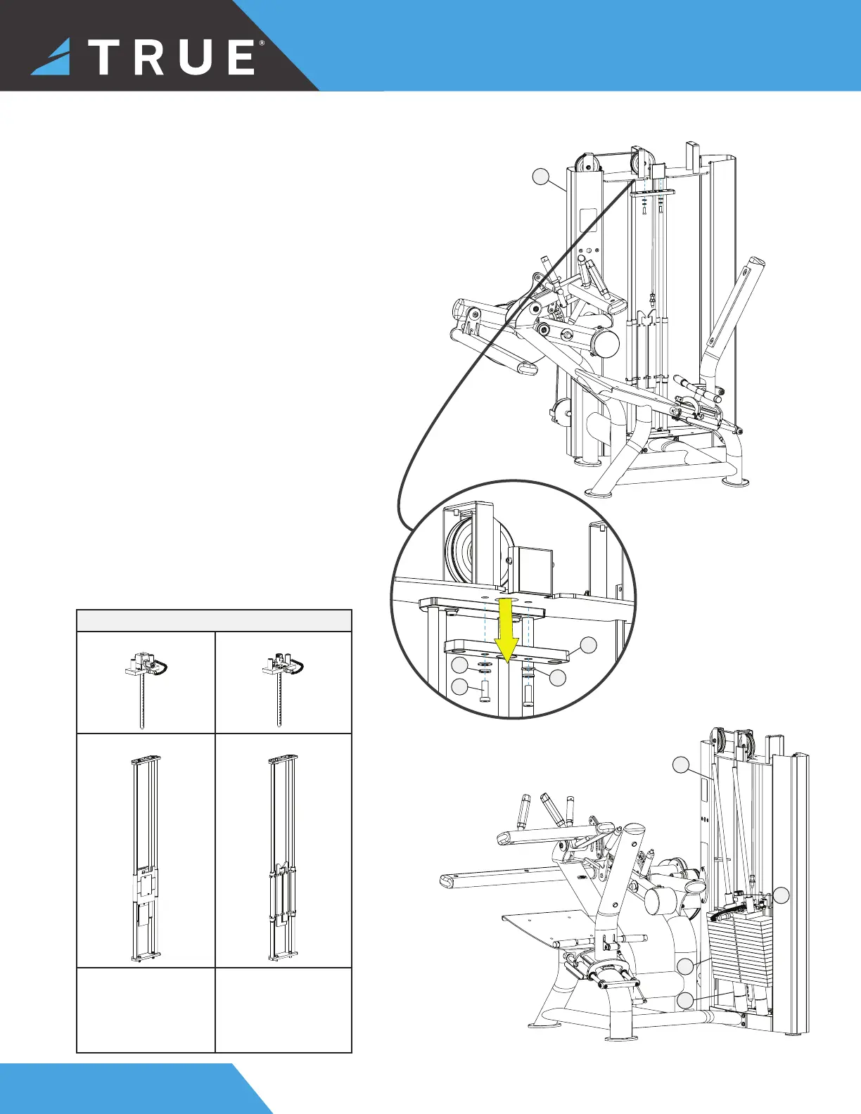
STEP 3—ATTACH WEIGHT STACK TO UPRIGHT ASSEMBLY CONTINUED
1
a. Using an allen wrench, remove and set
aside the guide rod bracket from the upright
assembly using 2 hex screws, 2 lock washers,
and 2 at washers.
b. Slide the 2 guide rods into place on the upright
assembly.
c. Wipe all dirt and dust from the guide rods
before lightly applying Tri-Flow
TM
or another
te on spray lubricant. Spray the Tri-Flow
TM
on
a cloth or paper towel and use it to wipe down
the guide rods.
IMPORTANT! DO NOT use oil lubricants such
as WD-40.
IMPORTANT! Tri-Flow
TM
will stain carpet or
clothing.
d. Slide the bumpers, weights, and top weight
assembly down the guide rods.
IMPORTANT! DO NOT drop the weight plates
when sliding onto guide rods.
IMPORTANT! Adjust the adder weight
selection knob to 0lbs/kg prior to installing the
top weight assembly.
IMPORTANT! On previous versions of this
model, the top weight assembly and adder
weight assembly are visually di erent.
However, the general assembly procedure is
the same.
Top Weight and Adder Weight Assemblies
SPL-00-TPL200X
SPL-00-TPL300X
SPL-ADRWT REV02 SPL-ADRWT REV03
Generation 1
Top Weight
SPL-00-TPL200X is
only compatible with
SPL-ADRWT REV02
or lower.
Generation 2
Top Weight
SPL-00-TPL300X is
only compatible with
SPL-ADRWT REV03
or higher.

Related product manuals