EasyManua.ls Logo

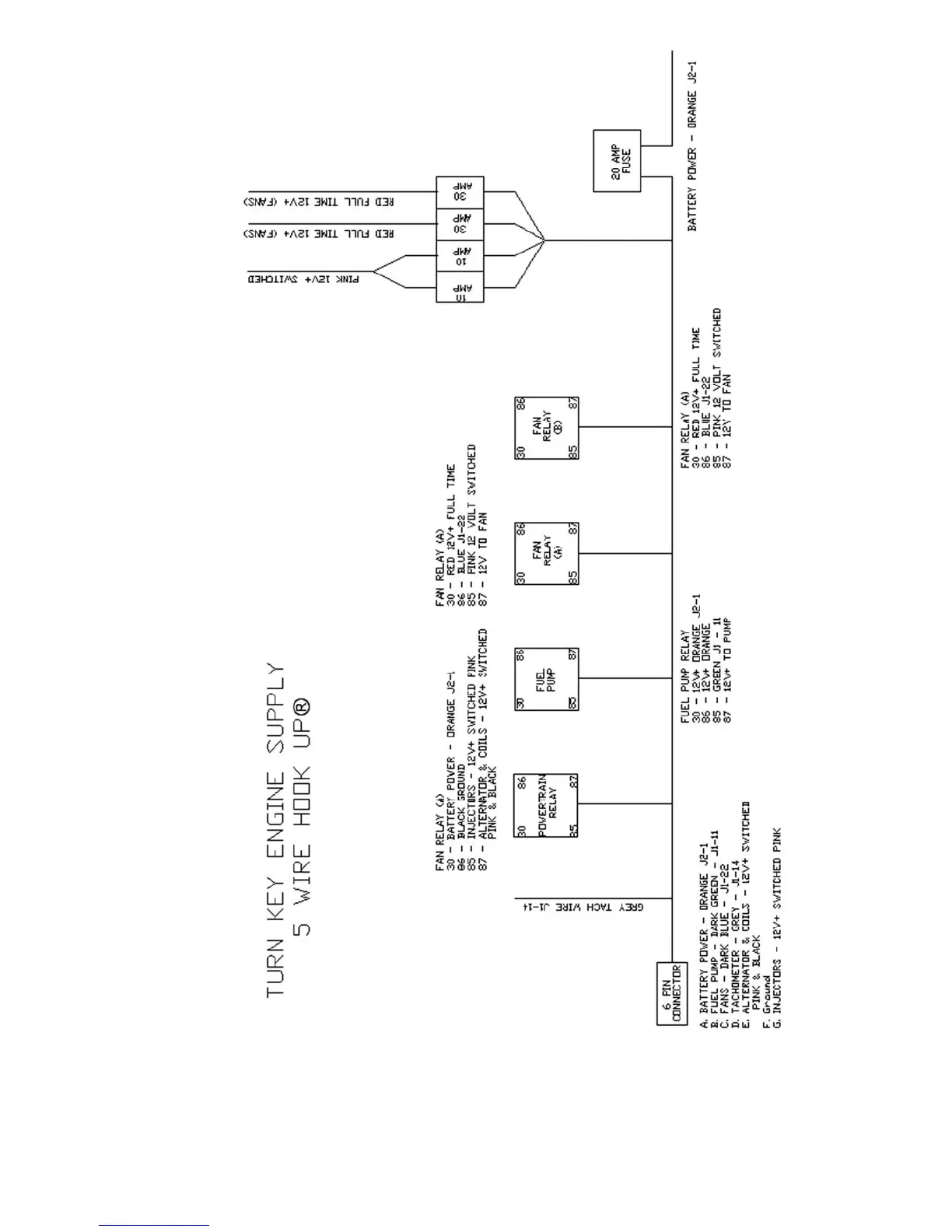
Turn Key LS3 - Wiring Diagram and Connections

Turn Key LS3
16 pages
Print Icon
To Next Page IconTo Next Page
To Next Page IconTo Next Page
To Previous Page IconTo Previous Page
To Previous Page IconTo Previous Page
Loading...
12