EasyManua.ls Logo

UNIA MX - Page 40

UNIA MX
62 pages
Print Icon
To Next Page IconTo Next Page
To Next Page IconTo Next Page
To Previous Page IconTo Previous Page
To Previous Page IconTo Previous Page
Loading...
37
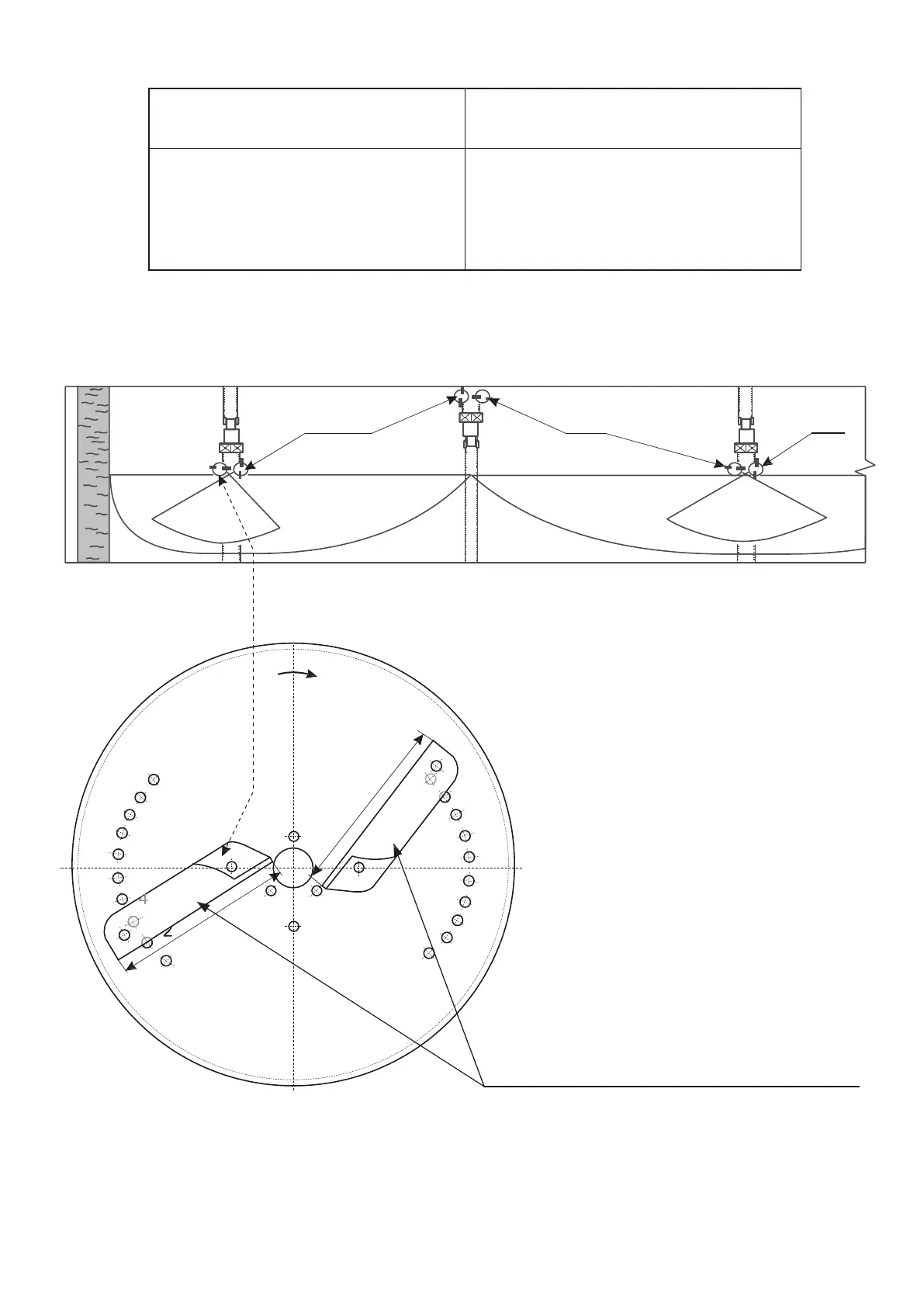
Distance between the first path and
the border [m]
Reduced number of positions on the
scale
5 to 6
2
7 to 9
3
10 to 11
4
12 to 14
5
15 to 18
6
LM
LM
LM
TL
TL
B
A
1
2
1
2
3
4
5
5
4
3
2
3
4
5
5
4
3
1
2
1
I. Left telescopic blade, set
TL 10 (L=120170) No. 2039/93-004/0
TL 20 (L=180250) No. 2039/93-012/0
TL 30 (L=250320) No. 2039/93-020/0

Related product manuals