EasyManua.ls Logo

Universal Blue UBE2412-21 - Page 13

Universal Blue UBE2412-21
Print Icon
To Next Page IconTo Next Page
To Next Page IconTo Next Page
To Previous Page IconTo Previous Page
To Previous Page IconTo Previous Page
Loading...
13
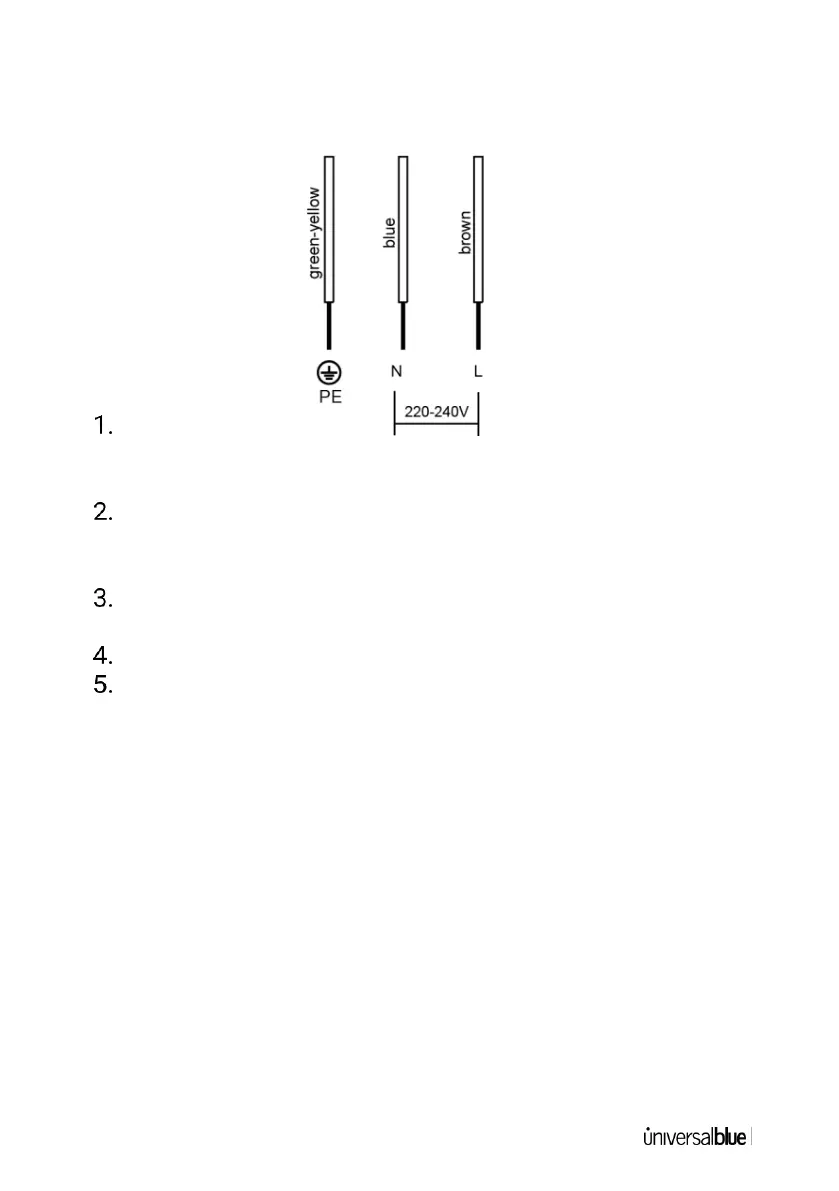
El suministro de energía debe conectarse de acuerdo con la norma
correspondiente, o con un interruptor automático de un polo. El
método de conexión se muestra a continuación.
Si el cable está dañado o necesita ser reemplazado, esto debe
ser realizado por un técnico ,utilizando las herramientas
adecuadas, para evitar cualquier accidente.
Si el aparato se conecta directamente a la red eléctrica, debe
instalarse un interruptor automático universal con una
separación mínima de 3 mm entre los contactos.
El instalador debe asegurarse de que la conexión eléctrica es
correcta y cumple con todas las normas de seguridad.
El cable no debe doblarse ni quedar presionado.
El cable debe ser revisado regularmente y sólo debe ser
sustituido por una persona cualificada.
Ahorro energético:
Para obtener resultados óptimos, es aconsejable:
Utilice ollas y sartenes con una superficie de base igual a la de
la zona de cocción.
Utilice sólo ollas y sartenes de fondo liso.
Cuando sea posible, mantenga las tapas de las ollas puestas
durante la cocción.
Utilice una olla a presión para ahorrar aún más energía y tiempo.
Coloque la olla en el centro de la zona de cocción marcada en
la placa de cocción