EasyManua.ls Logo

Uniwill 340S2 - Page 78

Default Icon
88 pages
Print Icon
To Next Page IconTo Next Page
To Next Page IconTo Next Page
To Previous Page IconTo Previous Page
To Previous Page IconTo Previous Page
Loading...
Index
340S2 Rev : B
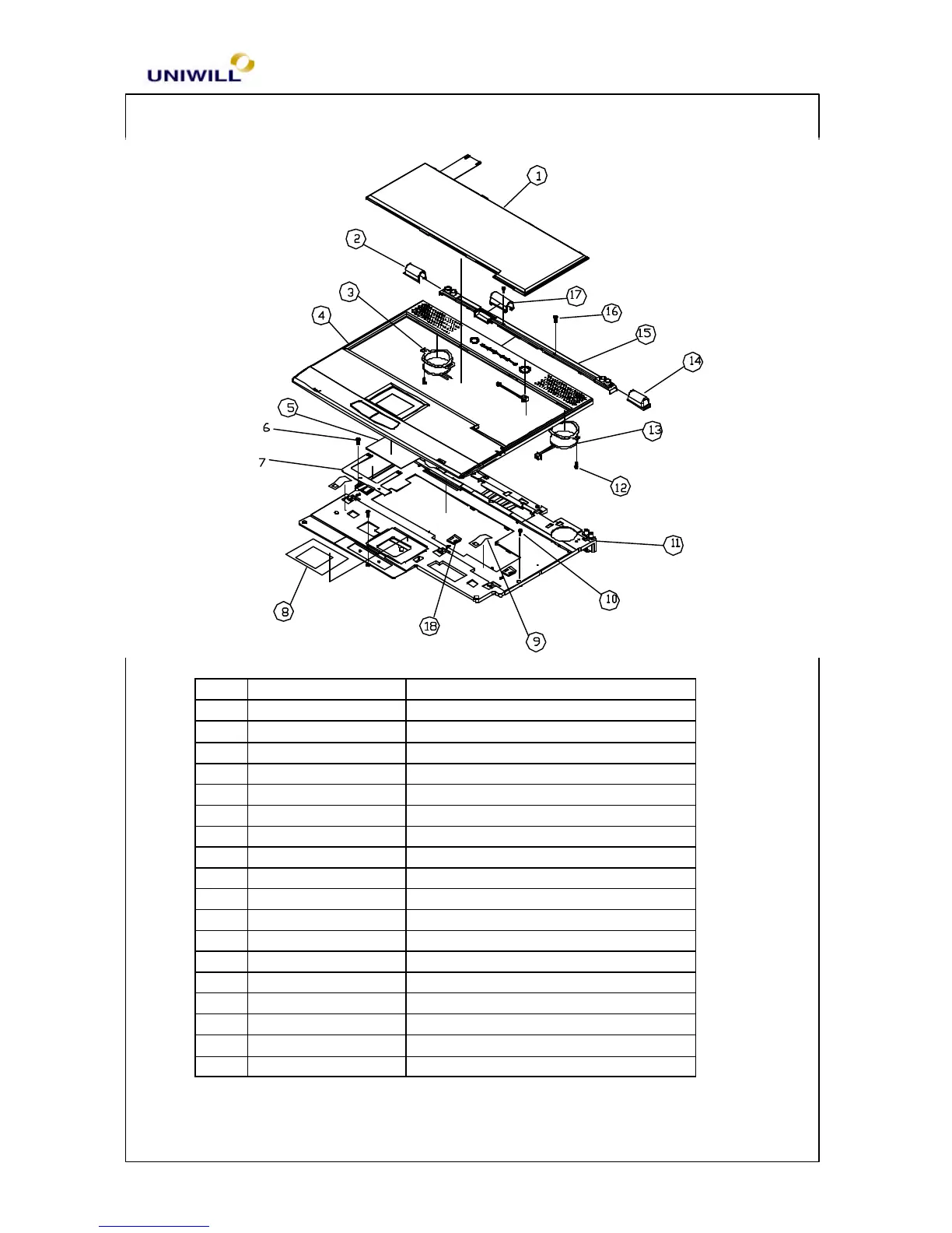
7.1 TOP CABINET ASSEMBLY
NO. PART NUMBER DESCRIPTION
1 71-002901-00 K/B US
2 50-352924-00 COVER HINGE (L) 340
3 40-102902-00 SPRING SPK 340
4 50-312927-00 TOP CAB. ASSY ID2
5 74-08U204-00 T/P
6 41-720120-06 M2.0*6
7 7915034020 FPC T/P PAD
8 50-212904-00 ADHESIVE TAPE
9 40-102901-00 SPRING FOR K/B 340
10 41-720120-04 M2.0*4
11 50-312903-00 TOP HOUSING (MG) 340
12 41-720120-03 M2.0*3
13 22-300513-00 SPEAKER FG-36N081
14 50-352922-00 COVER HINGE (R ) 340
15 50-352921-00 COVER HINGE FRAME
16 41-720120-03 M2.0*3
17 50-352924-00 COVER CABLE FOR 340
18 50-432911-00 LATCH K/B FOR (BLACK)
7.2 PCB (MOTHERBOARD) ASSEMBLY