EasyManua.ls Logo

Vasco Mini 2 - Page 110

Vasco Mini 2
178 pages
Print Icon
To Next Page IconTo Next Page
To Next Page IconTo Next Page
To Previous Page IconTo Previous Page
To Previous Page IconTo Previous Page
Loading...
(Español)
Spanish
English
(United States)
10
6
2
1
3
9
8
4
5
7
11
12
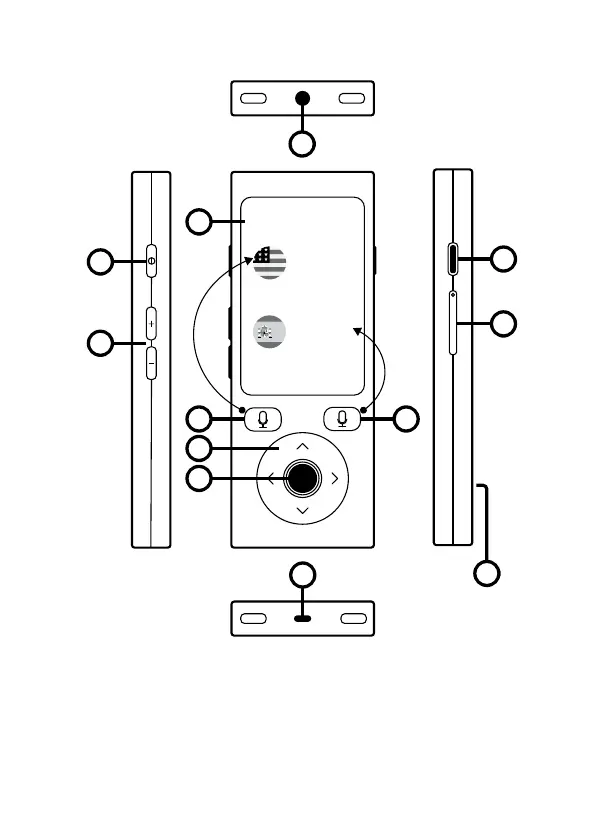
1. 触摸屏 7. 音量大小
2. 原语言 8. 返回键
3. 翻译的语言 9. SIM 卡卡槽
4. 上按键 10. 耳机孔
5. 进入按键 11. USB充电孔,
6. 开关机键 12. 喇叭

Related product manuals