EasyManua.ls Logo

Vasco Mini 2 - Page 122

Vasco Mini 2
178 pages
Print Icon
To Next Page IconTo Next Page
To Next Page IconTo Next Page
To Previous Page IconTo Previous Page
To Previous Page IconTo Previous Page
Loading...
(Español)
Spanish
English
(United States)
10
6
2
1
3
9
8
4
5
7
11
12
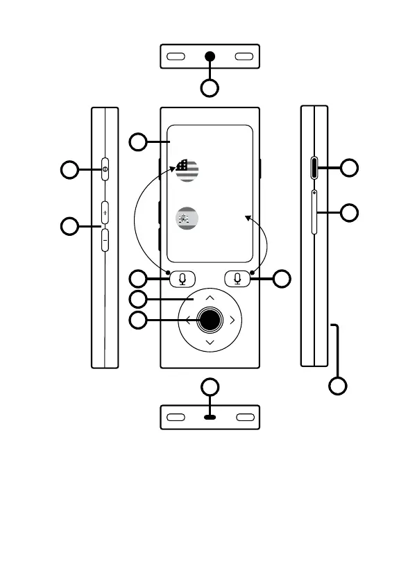
1. スクリーン 7. 音量
2. ス言語音声認識 8. 戻
3. 言語音声認識ボ 9. SIM/マSDス
4. 矢印 10. ッド ット
5. 再生/確認 11. マUSB,
6. オン/オ 12. ーカー

Related product manuals