EasyManua.ls Logo

Vasco Mini 2 - Page 14

Vasco Mini 2
178 pages
Print Icon
To Next Page IconTo Next Page
To Next Page IconTo Next Page
To Previous Page IconTo Previous Page
To Previous Page IconTo Previous Page
Loading...
(Español)
Spanish
English
(United States)
10
6
2
1
3
9
8
4
5
7
11
12
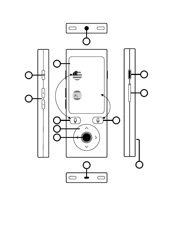
1. Pekskärm, 2. Knapp för taligenkänning (källspråket), 3. Knapp för
taligenkänning (målspråket), 4. Pilar, 5. Lyssna / bekräfta,
6. Sätt på/Stäng av, 7. Ljudnivå, 8. Tillbaka, 9. Slot SIM/Micro SD,
10. Hörlursuttag, 11. Micro USB-port, 12. högtalare.

Related product manuals