EasyManua.ls Logo

Vasco Mini 2 - Page 26

Vasco Mini 2
178 pages
Print Icon
To Next Page IconTo Next Page
To Next Page IconTo Next Page
To Previous Page IconTo Previous Page
To Previous Page IconTo Previous Page
Loading...
(Español)
Spanish
English
(United States)
10
6
2
1
3
9
8
4
5
7
11
12
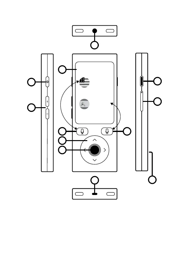
1. Berøringsskærm, 2. Kildesprog talegenkendelsesknap, 3. Knap til måls-
proggenkendelse, 4. Pile, 5. Lyt / Bekræft, 6. Tænd / Sluk, 7. Lydstyrke,
8. Tilbage, 9. SIM / Micro SD slot, 10. Hovedtelefonindgang
11. Micro USB-indgang, 12. Højttaler

Related product manuals