EasyManua.ls Logo

Vasco Mini 2 - Page 38

Vasco Mini 2
178 pages
Print Icon
To Next Page IconTo Next Page
To Next Page IconTo Next Page
To Previous Page IconTo Previous Page
To Previous Page IconTo Previous Page
Loading...
(Español)
Spanish
English
(United States)
10
6
2
1
3
9
8
4
5
7
11
12
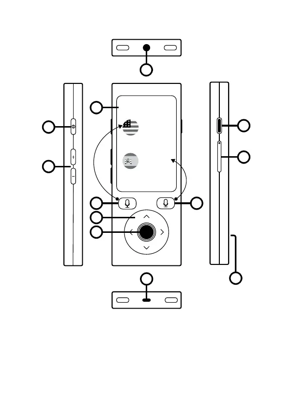
1. Kosketusnäyttö, 2. Lähdekielen puheen tunnistuspainike, 3. Kohdekie-
len puheen tunnistuspainike, 4. Nuolipainike, 5. Kuuntele/Vahvista,
6. Virtapainike, 7. Äänenvoimakkuus, 8. Takaisin, 9. SIM-/Micro
SD-paikka, 10. Kuulokeliitäntä, 11. Mikro USB-liitäntä, 12. Kaiutin.

Related product manuals