EasyManua.ls Logo

Vasco Mini 2 - Page 50

Vasco Mini 2
178 pages
Print Icon
To Next Page IconTo Next Page
To Next Page IconTo Next Page
To Previous Page IconTo Previous Page
To Previous Page IconTo Previous Page
Loading...
50 Română
(Español)
Spanish
English
(United States)
10
6
2
1
3
9
8
4
5
7
11
12
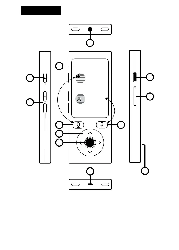
1. Ecran tactil, 2. Buton de recunoaștere a limbii sursă, 3. Buton de recu-
noaștere a limbii intă, 4. Săgei, 5. Ascultare/Conrmare, 6. Pornire/
Oprire, 7. Volum, 8. Înapoi, 9. Slot SIM/Micro SD, 10. Intrare căști,
11. Intrare micro USB, 12. Difuzor

Related product manuals