EasyManua.ls Logo

Vasco Mini 2 - Page 74

Vasco Mini 2
178 pages
Print Icon
To Next Page IconTo Next Page
To Next Page IconTo Next Page
To Previous Page IconTo Previous Page
To Previous Page IconTo Previous Page
Loading...
(Español)
Spanish
English
(United States)
10
6
2
1
3
9
8
4
5
7
11
12
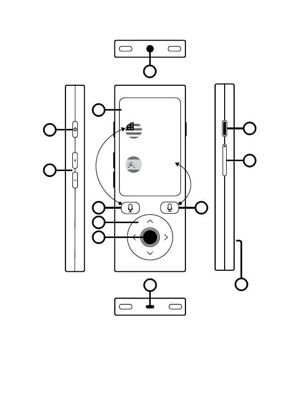
1.  , 2.     ,
3.     ,
4. , 5. /, 6. /
7. , 8. , 9.  SIM/Micro SD 10.   -
, 11.  micro USB 12. 

Related product manuals