EasyManua.ls Logo

Vasco Mini 2 - Page 98

Vasco Mini 2
178 pages
Print Icon
To Next Page IconTo Next Page
To Next Page IconTo Next Page
To Previous Page IconTo Previous Page
To Previous Page IconTo Previous Page
Loading...
(Español)
Spanish
English
(United States)
10
6
2
1
3
9
8
4
5
7
11
12
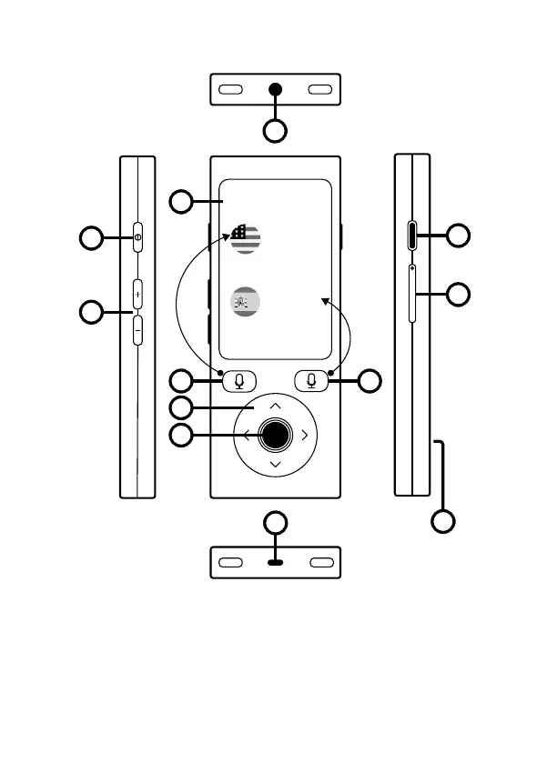
1. Ecrã táctil 2. Botão de reconhecimento de fala no idioma de origem
3. Botão de reconhecimento de fala no idioma de destino,
4. Setas, 5. Ouvir/conrmar, 6. Ligar /Desligar, 7. Volume,
8. Voltar para trás, 9. Slot SIM/Micro SD, 10. Entrada para auscultadores,
11. Entrada micro USB, 12. Alto-falante.

Related product manuals