EasyManua.ls Logo

VAT 651 Series - Page 27

VAT 651 Series
99 pages
To Next Page IconTo Next Page
To Next Page IconTo Next Page
To Previous Page IconTo Previous Page
To Previous Page IconTo Previous Page
Loading...
Series 651 INSTALLATION
605451EC Edition 2014-07-10 27/
99
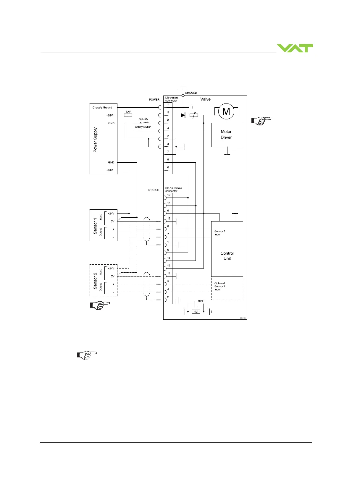
4.4.3.2 Sensor power wiring external
Use shielded sensor cable(s). Keep cable as short as possible, but locate it away
from noise sources.
Connect Power supply (+24 / GND) at DB–9 male power connector and Sensors
(0V / + / -) at DB–15 female sensor connector exactly as shown in the drawing
above!
Connector: Use only screws with 4–40 UNC thread for fastening the connectors!
Pins 4 and 8 must be
bridged for operation.
An optional switch
would allow for motor
interlock to prevent
valve from moving.
Low range sensor may be
connected to sensor 1 or
sensor 2 input. Do
configuration accordingly.

Table of Contents

Related product manuals