EasyManua.ls Logo

Vector 4 - Page 28

Vector 4
227 pages
Print Icon
To Next Page IconTo Next Page
To Next Page IconTo Next Page
To Previous Page IconTo Previous Page
To Previous Page IconTo Previous Page
Loading...
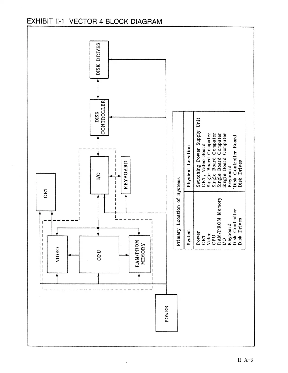
EXHIBIT
lI-1
VECTOR
4
BLOCK
DIAGRAM
SaAlI
ASIA
pJsoy
JI[[oNUODH
XSI.
pIeoqhalf
193ndwo)
pIsog
913uUIg
Ja1ndwo)
pasog
9[3uUlg
Joyndwo)
paeog
I[3uUIS
J9indwo)
pJsog
9[3UIS
prgog
03pIA
‘LYD
jwun
Aiddng
Jamod
3uryojimg
saAlId
sid
Jronuo)
ysid
pJB0oqha
3]
O/1
Alows
N
WOUJ/WVYH
Nndo
O09PIA
LHO
JoMO
]
uol}8o0']
1801sAyd
wa3lsAg
SwalsAg
Jo
uoryvoor]
Aiswiag
Y
SHAIY
A
ASId
—A
>
jm———————————
.:.
|
|
X4OWINW
|
"
1
WOUd/WVH
[
|
AYVOdAdN
|
|
A
|
j——————
V.....
lllllll
4
1
|
|
|
.
JATIOYLNOD
|
)
(8
-1
0/1
<
>
ndo
-
_
.
|
|
e
e
e
e
e
e
o
e
-
-
-
——
|
|
I
Yy
|
>
OAdIA
<
LYD
I
HIMOd
II
A-3