EasyManua.ls Logo

Venting RH00830AS - Mounting the Hood

Default Icon
19 pages
Print Icon
To Next Page IconTo Next Page
To Next Page IconTo Next Page
To Previous Page IconTo Previous Page
To Previous Page IconTo Previous Page
Loading...
9
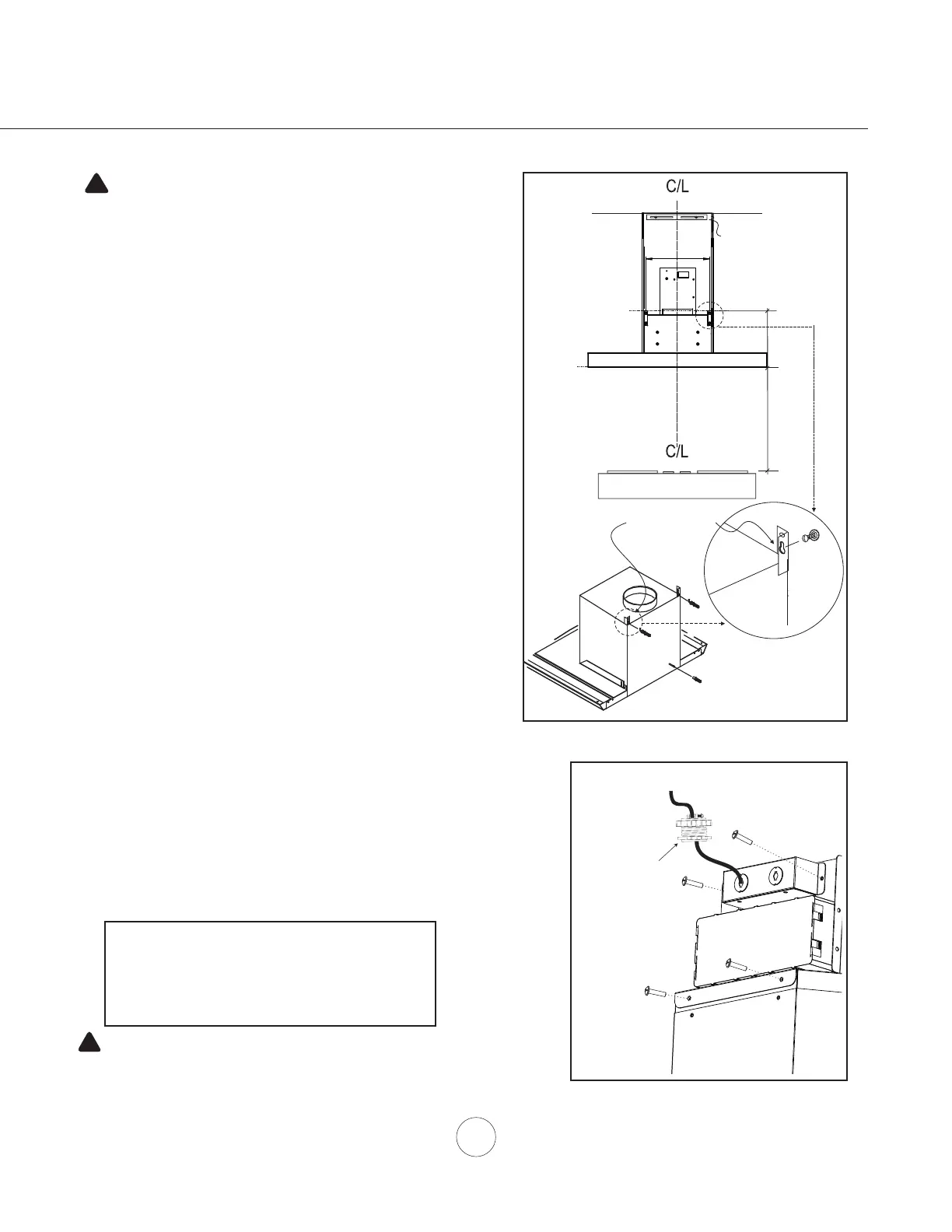
1. Measure from range top to desired hood bottom location and
mark line A. (26” minimum from range top) .
2. Plum and mark center line.
3. Mark hood height line B. (11-1/16” from line A)
4. Mark mounting spread from C/L. (12-5/8” on line B)
5. Fasten (2) M6 x 1-1/2” screws into studs on line B but do not
tighten all the way. Note: Wood blocking may need to be
added behind the drywall if no studs are present. Wall
anchors may also be used but check local codes for
compliance. Failure to use suitable wall anchors to hold
the weight of the hood could result in personal injury or
damage to the cooking surface or counter.
6. Remove tape and (2) screws securing electronics mounting
bracket to hood. Reposition electronics mounting bracket as
shown in FIG. B #3) and secure to motor housing using the (2)
previously removed screws.
7. Remove (2) screws securing electrical junction box to
electronics mounting plate. Remove junction box. (FIG. B #1)
8. Remove the (2) aluminum mesh fi lters. Hang hood onto the
mounting screws and hand tighten each screw. (FIG. A #1)
Secure third M6 x 1-1/2” screw with washer through inside of
hood into wall for extra support. (FIG. A #2)
9. Center and attach duct cover mounting bracket to wall just
below the ceiling or soffi t using (2) M6 x 1” screws. (FIG. A #3)
10. Install duct work and seal with aluminum duct tape*. Re-install
junction box with cable lock and install the electrical. (FIG. B #2)
11. Power up hood to verify all functions and check for leaks around
duct tape
12. Place telescopic duct covers onto hood and extend inner (top)
duct cover upwards and secure to duct cover bracket using (2)
M3.5 x 8 screws. Re-install aluminum mesh fi lters.
* If using hood in recirculating mode you must secure the air
diverter plate onto wall before installing duct work and duct
covers. Refer to page 10 for more details.
11
1/16
Brackets are
pre-installed
26” Min.
A
B
3
1
2
Duct Cover Bracket
12
5/8
CAUTION: At least two installers are
required due to the weight and size of the
hood.
!
WARNING: Electrical wiring must be done by a qualified person(s) in
accordance with all applicable codes and standards. This range hood must be
properly grounded. Turn off electrical power at service entrance before wiring.
!
Cable Lock
2
1
3
Motor Housing
Cable Lock
A cable locking connector (not supplied) might
be required by local codes. Check with local
requirements and codes, purchase and install
appropriate connector if necessary.
Installation – Mounting the Hood
FIG. A
FIG. B