EasyManua.ls Logo

Vetus WP1208 - Page 44

Vetus WP1208
Print Icon
To Next Page IconTo Next Page
To Next Page IconTo Next Page
To Previous Page IconTo Previous Page
To Previous Page IconTo Previous Page
Loading...
44 050406 .01
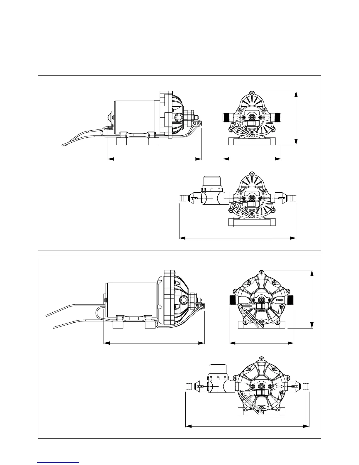
vetus® Automatic demand water pressure pump WP
7 Hoofdafmetingen
Principal dimensions
Hauptabmessungen
212 (8
3
/
8
”) 130 (5
1
/
8
”)
123 (4
13
/
16
”)
263 (10
3
/
8
”)
229 (9”) 147 (5
13
/
16
”)
132 (4
3
/
16
”)
280 (11”)
WP1208
WP2408
WP1213
WP2413
WP1220
WP2420
Dimensions principales
Dimensiones principales
Dimensioni principali
Päämitat