EasyManua.ls Logo

Viking VCCI3608 - Page 18

Viking VCCI3608
20 pages
Print Icon
To Next Page IconTo Next Page
To Next Page IconTo Next Page
To Previous Page IconTo Previous Page
To Previous Page IconTo Previous Page
Loading...
18
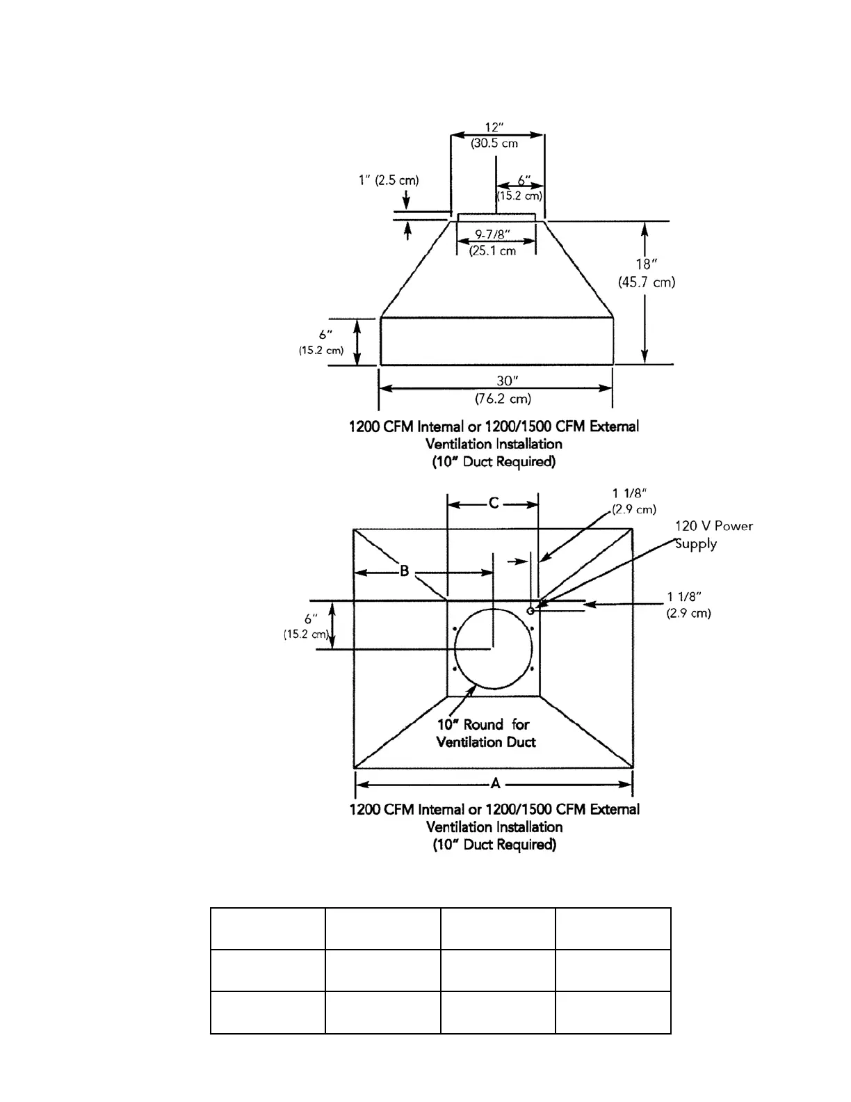
ISLAND HOOD DIMENSIONS
54”/66” W.
PROFESSIONAL CHIMNEY HOODS
AA BB CC
5544 WW
5533 77//88
((113366..88 ccmm))
2266 1155//1166
((6688..44 ccmm))
1188
((4455..77 ccmm))
6666 WW
6655 77//88
((116677..33 ccmm))
3322 1155//1166
((8833..77 ccmm))
2244
((6611..00 ccmm))

Related product manuals