EasyManua.ls Logo

Viro V06 - Page 15

Viro V06
20 pages
Print Icon
To Next Page IconTo Next Page
To Next Page IconTo Next Page
To Previous Page IconTo Previous Page
To Previous Page IconTo Previous Page
Loading...
15/20
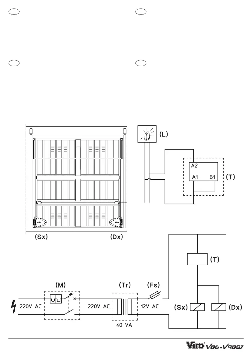
Per l’installazione sono necessari:
- un temporizzatore ( T ) con ritardo allo
spegnimento regolabile (massimo 10 secondi)
ed alimentazione da 12 a 240 V AC/DC;
- un trasformatore ( Tr ) da 230 a 12 V-40 VA;
- un interruttore magnetotermico ( M ) da 2 A;
- un fusibile ( Fs ) da 3,16 A ritardato.
KIT OPZIONALE art. 1.7918.0850
The following are necessary for the installation:
- timer ( T ) with adjustable switch-off delay
(max. 10 seconds) and power supply 12 V to
240 V AC/ DC;
- 230 V to 12 V, 40 VA transformer ( Tr );
- 2 A circuit breaker ( M );
- 3.16 A delayed switch ( Fs ).
OPTIONAL KIT item 1.7918.0850
Pour l’installation, sont nécessaires:
- un timer ( T ) avec retard
à
l’arrêt réglable
(max. 10 secondes) et alimentation de 12 à
240 Vca/cc;
- un transformateur ( Tr ) de 230 à 12 V - 40 VA;
- un interrupteur magnétothermique ( M ) de 2 A;
- un fusible ( Fs ) de 3,16 A retardé.
KIT EN OPTION art. 1.7918.0850
Para la instalación se necesitan:
- un temporizador ( T ) con retraso de
apagado regulable (máximo de 10 segundos)
y alimentación eléctrica de 12 a 240 V CA/CC;
- un transformador ( Tr ) de 230 a 12 V-40 VA;
- un interruptor magnetotérmico ( M ) de 2 A;
- un fusible ( Fs ) de 3,16 A retrasado.
KIT OPCIONAL art. 1.7918.0850
ITA FRA
ENG ESP