EasyManua.ls Logo

Vivotek AM-218 - Page 6

Vivotek AM-218
20 pages
Print Icon
To Next Page IconTo Next Page
To Next Page IconTo Next Page
To Previous Page IconTo Previous Page
To Previous Page IconTo Previous Page
Loading...
6
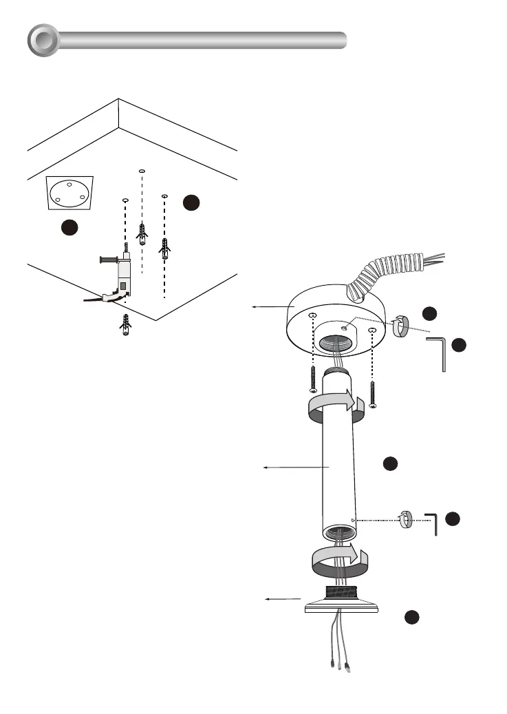
Direct Installation
3
2
1
1. Determine a hard surface ceiling
location, and use the included alignment
sticker for marking three mounting holes
as where holes will be drilled to secure
the pendant head.
2. Hammer in the plastic anchors.
3
4
5
7
6
AM-118
AM-116/
AM-117
AM-52E
3. Secure pandant head using the included
screws.
4. Install the pendant pipe.
5. Tighten the retention screw using the hex
wrench.
6. Install the AM-52E.
7. Tighten the retention screw using the
included hex wrench.
3-1. Using the Pendant Pipe

Related product manuals