EasyManua.ls Logo

Vivotek AM-412 - Page 18

Vivotek AM-412
20 pages
Print Icon
To Next Page IconTo Next Page
To Next Page IconTo Next Page
To Previous Page IconTo Previous Page
To Previous Page IconTo Previous Page
Loading...
18
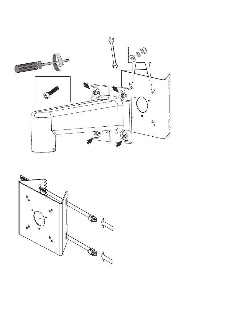
1. Secure the AM-719 conduit box to bracket using the M4 screws, washers, and hex
heads. A hex crescent wrench is required. You can do this before you install the pole-
mount bracket.
M4
2. Pass the stainless steel straps through the bracket and around the pole.

Related product manuals