EasyManua.ls Logo

VOLTCRAFT ETC-100+ - Page 10

VOLTCRAFT ETC-100+
Print Icon
To Next Page IconTo Next Page
To Next Page IconTo Next Page
To Previous Page IconTo Previous Page
To Previous Page IconTo Previous Page
Loading...
®
Het product is niet geschikt voor de montage en het gebruik in explosiegevaarlijke
gebieden.
Monteer en gebruik de temperatuurregelaar alleen vast ingebouwd in gesloten
behuizingen.
Gebruik voor de aansluiting van de temperatuurregelaar op de netspanning
slechts toegestane netsnoeren.
Indien u vragen heeft over de correcte aansluiting of het gebruik of als er problemen zijn waar
u in de gebruiksaanwijzing geen oplossing voor kunt vinden, neemt u dan contact op met
onze technische helpdesk of met een andere elektromonteur.
Voltcraft®, Lindenweg 15, D-92242 Hirschau, Tel. 0180/586.582 7
INBOUW EN AANSLUITING
Kies een geschikte plaats voor de inbouw van de temperatuurregelaar. De vereiste behui-
zingopening heeft een afmeting van ca. 71 x 30 mm.
Door twee verschuifbare houdklemmen kan de temperatuurregelaar zeer eenvoudig in de
behuizingopening worden bevestigd.
Aan de achterkant staan de aansluitklemmen onder een afdekking (met een schroef aan de
behuizing van de temperatuurregelaar bevestigd) ter beschikking.
De polariteit bij de aansluiting van de externe sensoren is niet van belang.
Leg de sensorkabel niet naast netspanningvoerende leidingen! Bescherm de
sensorkabel tegen scherpe randen of draaiende/bewegende delen!
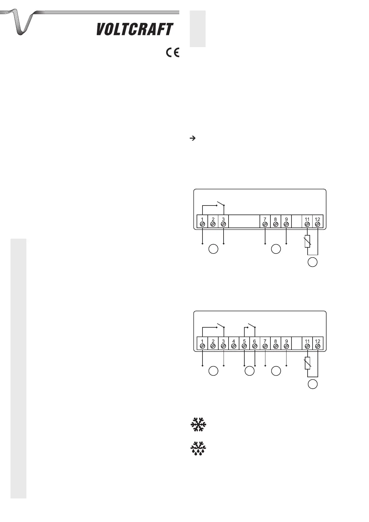
Temperatuurregelaar „ETC-100+”:
A = schroefaansluitingen 7 en 9: Aansluiting van de netspanning
B = schroefaansluitingen 11 en 12: Aansluiting voor externe sensor
C = schroefaansluitingen 1 en 3: Schakeluitgang
220-240 V/AC
50-60 Hz
C
A
B
Temperatuurregelaar „ETC-200+”:
A = schroefaansluitingen 7 en 9: Aansluiting van de netspanning
B = schroefaansluitingen 11 en 12: Aansluiting voor externe sensor
C = schroefaansluitingen 1 en 3: Schakeluitgang
D = schroefaansluitingen 5 en 6: Schakeluitgang voor defrost-functie
220-240 V/AC
50-60 Hz
C
A
B
D
LED-SIGNALEN
LED brandt Normale werking
LED knippert Inschakelvertraging actief
LED brandt Normale defrost-functie (alleen bij „ETC-200+”)
LED knippert snel Handmatige defrost-functie (alleen bij „ETC-200+”)
LED knippert langzaam Instelmenu actief
GEBRUIKSAANWIJZING
TEMPERATUURREGELAAR
BESTELNR. 19 69 79 (TYPE „ETC-100+“)
BESTELNR. 19 69 94 (TYPE „ETC-200+“)
BEOOGD GEBRUIK
Afhankelijk van de versie, kan de temperatuurregelaar voor een koelfunctie („ETC-100+”), of
voor een koel- of verwarmingsfunctie („ETC-200+”) worden gebruikt.
Lees deze gebruiksaanwijzing vóór ingebruikname zorgvuldig door, neem alle veiligheids- en
montageinstructies en alle andere informatie uit deze gebruiksaanwijzing in acht!
Ieder ander gebruik dan hierboven beschreven kan leiden tot beschadiging van het product;
bovendien bestaat kans op kortsluiting, brand, elektrische schokken en dergelijke.
Het product voldoet aan de geldende nationale en Europese wettelijke regels.
Alle voorkomende bedrijfsnamen en productaanduidingen zijn handelsmerken van de betref-
fende eigenaren. Alle rechten voorbehouden.
OMVANG VAN DE LEVERING
• Temperatuurregelaar
• Temperatuursensor
• Gebruiksaanwijzing
VEILIGHEIDSINSTRUCTIES
Lees voor ingebruikneming de volledige handleiding door; deze bevat belang-
rijke aanwijzingen voor het juiste gebruik. Bij schade, veroorzaakt door het
niet raadplegen en opvolgen van deze gebruiksaanwijzing, vervalt elk recht
op waarborg/garantie! Voor gevolgschade zijn wij niet aansprakelijk!
Wij aanvaarden geen aansprakelijkheid voor materiële schade of persoonlijk
letsel, veroorzaakt door ondeskundig gebruik of het niet opvolgen van de
veiligheidsaanwijzingen! In dergelijke gevallen vervalt de waarborg/garantie.
Algemeen
Om redenen van veiligheid en toelating (CE) is het eigenmachtig ombouwen en/of
wijzigen van het product niet toegestaan. Demonteer het daarom nooit.
Het product mag alleen aan een netspanning van 200 - 240 V/AC, 50 -60 Hz
gebruikt worden. Het product is volgens beschermingsklasse II geconstrueerd.
Stel het product niet bloot aan extreme temperaturen, sterke trillingen of zware
mechanische belastingen.
De sensor is beschermd volgens IP68, de frontplaat van de temperatuurregelaar
volgens IP54. Plaats een geschikte afdichting tussen de frontplaat en de behui-
zing, waarin de temperatuurregelaar wordt ingebouwd.
Het product is geen speelgoed. Houd het product buiten bereik van kinderen.
Monteer en gebruik het product alleen daar, waar kinderen er niet bij kunnen
komen.
Neem in industriële omgevingen de Arbo-voorschriften met betrekking tot het
voorkomen van ongevallen in acht.
In scholen, opleidingcentra, hobbyruimtes en werkplaatsen moet geschoold
personeel voldoende toezicht houden op het gebruik van het product.
Laat verpakkingmateriaal niet achteloos liggen. Dit kan voor kinderen gevaarlijk
speelgoed zijn!
Behandel het product voorzichtig: door stoten, schokken of een val - zelfs van
geringe hoogte - kan het beschadigd raken.
Als u beschadigingen constateert, gebruik dan het product niet langer, maar
breng het naar een vakwerkplaats of voer het milieuvriendelijk af.
Montage
De installatie van het product dient uitsluitend te worden uitgevoerd door een
erkend vakman (bijv. elektricien) die vertrouwd is met de desbetreffende voor-
schriften (bijv. KEMA)!
Door ondeskundig werken onder netspanning brengt u niet alleen uw eigen veilig-
heid, maar ook die van anderen in gevaar!
Als u niet over de nodige vakkennis beschikt om zelf te monteren, laat dit dan aan
een vakman over.
VERSIE 02/12