EasyManua.ls Logo

Volvo Delco - Page 5

Volvo Delco
47 pages
Print Icon
To Next Page IconTo Next Page
To Next Page IconTo Next Page
To Previous Page IconTo Previous Page
To Previous Page IconTo Previous Page
Loading...
Volvo Trucks North America, Inc. Date Group No. Page
Service Bulletin 4.2004 392 08 5(47)
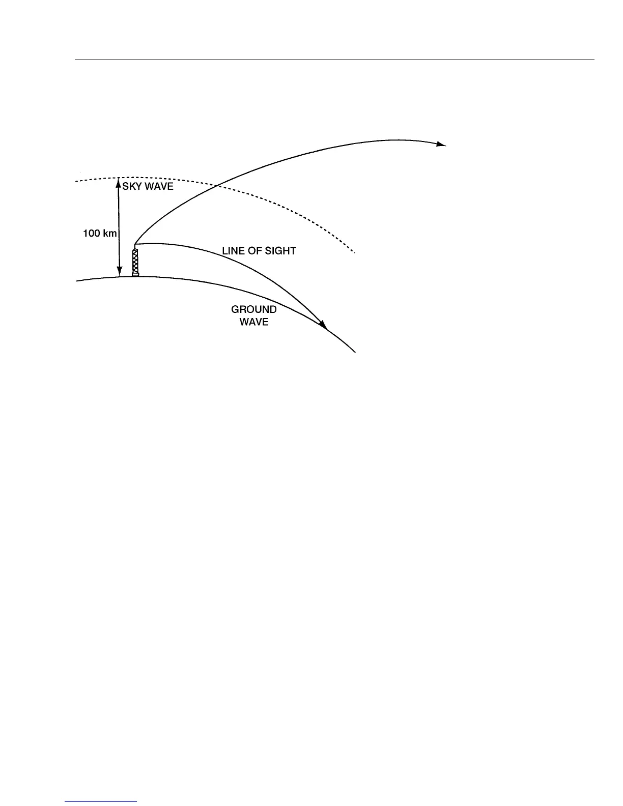
FM Band
W3003002
FM band signal. (100 km = 62 miles)
Radio signals in the FM band have higher frequency
and shorter wavelengths than the AM band. Some
characteristics of the FM band include:
FM is able to eliminate atmospheric noise mainly due
to its method of propagation. Atmospheric noises are
generally amplitude related and have little effect on
FM signals.
Reflect off of obstacles.
Penetrate the ionosphere.
Radio frequencies over 30 MHz are effectively absorbed
by the earth, eliminating the ground wave. Even when out
of a direct line of sight, the signal may be reflected into
areas that would be in a “shadow” otherwise.
FM signals and light rays respond to atmosphere in a
similar manner. The atmosphere bends them both so they
will follow the curvature of the earth to a certain extent.
This is called refraction and it is similar to a lens which
can bend light waves. A good example of this is when
you see a sunset. The sunlight is visible with the sun well
below the horizon. FM signals characteristically have a
shorter range than AM signals.
Factors which affect the line of sight include:
Height of the broadcast antenna.
Height of the receiving antenna.
Terrain and buildings in the broadcast path.

Related product manuals