EasyManua.ls Logo

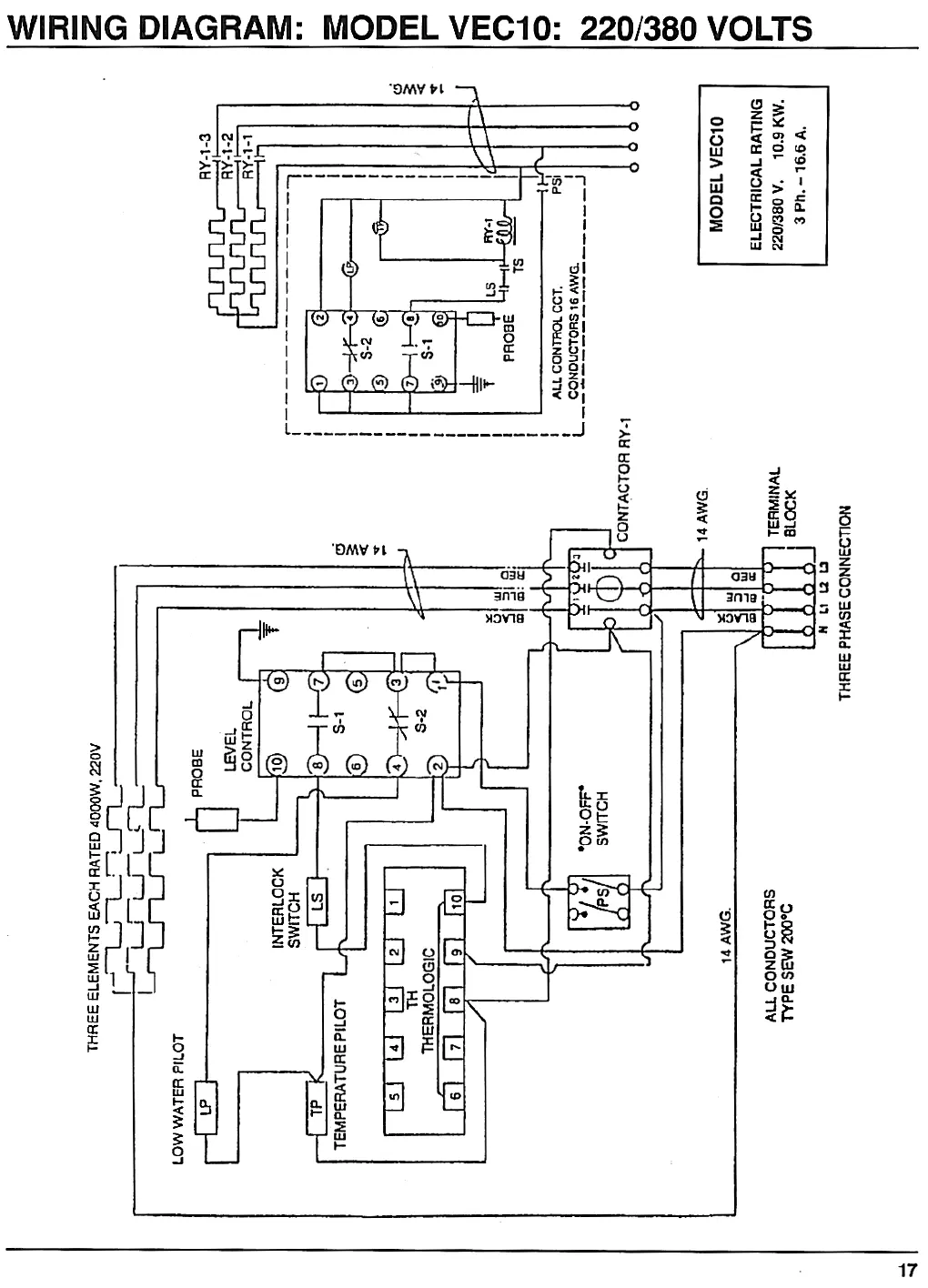
Vulcan-Hart VEC10 - Wiring Diagram: Model VEC10: 220;380 Volts

Vulcan-Hart VEC10
24 pages
Print Icon
To Next Page IconTo Next Page
To Next Page IconTo Next Page
To Previous Page IconTo Previous Page
To Previous Page IconTo Previous Page
Loading...

Other manuals for Vulcan-Hart VEC10

Related product manuals