EasyManua.ls Logo

WE-EF ETC130 Series - Page 2

WE-EF ETC130 Series
9 pages
Print Icon
To Next Page IconTo Next Page
To Next Page IconTo Next Page
To Previous Page IconTo Previous Page
To Previous Page IconTo Previous Page
Loading...
D2
H
D1
D1
D2
H
1
146
ø 12-19 (max.)
ø 10 (max.)
265
360°
0°-30°
ø 250
315
360°
0°-30°
ø 300
ETC130-GB ETC140-GB
265
360°
0°-30°
ø 250
180
0°-30°
360°
ø 250
315
360°
0°-30°
ø 300
ETC130-RE-GB LED ETC130-GB LED ETC140-GB LED
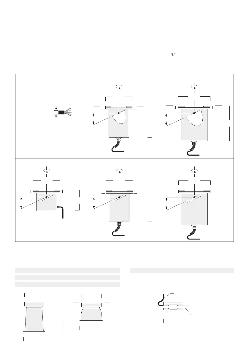
ø 8 - 8,5 mm
3 x 1,5 mm
Schutzart / Protection: IP67
Schutzklasse / Class I, , ta = 25°C
Installationszubehör / Installation Accessories
Erdeinbautopf / Installation Blockout
øD1 / øD2 H kg
185-0322 BET13-II 250 / 270 375 1,5
185-0924 BET13-II-RE 250 / 275 230 1,5
185-0323 BET14-II 300 / 325 420 2,5
Inground Uplight with Gimbal with Installation BlockoutBodeneinbauleuchte mit Gimbal mit Erdeinbautopf
Installationszubehör / Installation Accessories
Verbindungsmuffe / Sealable junction box
185-1624 SJB130 0,4 kg
Lampen / Lamps
HIT-CE 20W / 35W . . . . . . . . . . . . . . . . . . . . . . . . . . . .PGJ5
HIT-CE 35W / 70W . . . . . . . . . . . . . . . . . . . . . . . . . . . . G12
12 LEDs 12W–21W*/500 mA * je nach Lichtfarbe
24 LEDs 16W–28W*/350 mA * depends on color temperature

Related product manuals