EasyManua.ls Logo

WEBSTER CHICAGO 79 - Page 23

Default Icon
36 pages
Print Icon
To Next Page IconTo Next Page
To Next Page IconTo Next Page
To Previous Page IconTo Previous Page
To Previous Page IconTo Previous Page
Loading...
-
RECORD-
PLAYBACK
HEAD
1
VOICE
ERASE
E.
COIL
BIAS
COILS
I
FORWARD-
REVERSE
SWITCH
ON
MECH.
ISX088
C-
I1
BLACK
C-5
EC-
3
15
MFP
L
A "
IQ
MFD
SWITCH
ON
TONE
CONT.
SAFETY
SWITCH
ON
MECHANISM
68P001
POWER
TRANSFORMER
A.G.
I
NPUT
SO
MAZDA
105-120
VOLTS
LAMP
60
CYCLE
BLACK
WHITE
1000
OHM
SPEAKER
FIELD
0006000 \
A
25
MFD
EC-
1
11.
W
IFD
NOTE
ALL
SOCKETS
L
SWITCHES
SHOWN
ARE
BOT
TOM
VIEWS
,i2P040
SWITCH
SHOWN
IN
RECORD
POSITION
SPEAKER
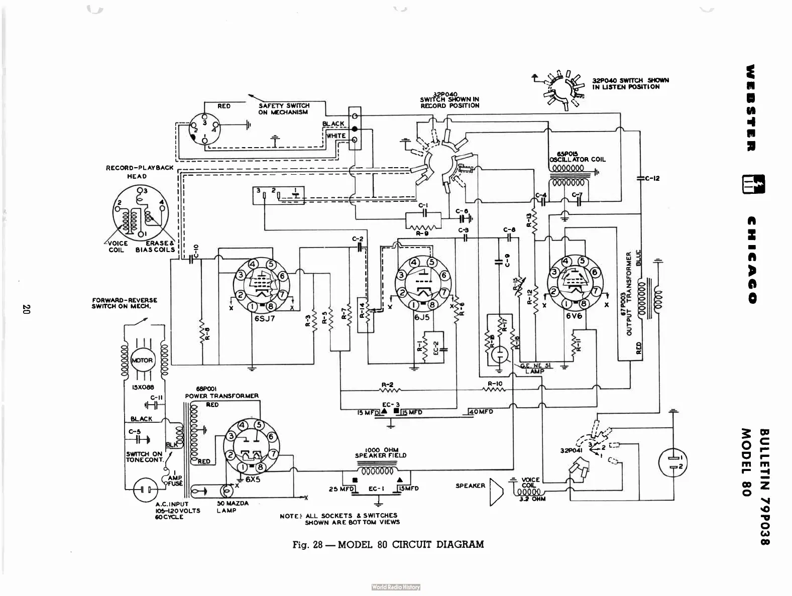
Fig.
28 -
MODEL
80
CIRCUIT
DIAGRAM
32P040
SWITCH
SHOWN
IN
UST
EN
POSITION
65POIS
CGCILL
ATOR
COIL
NE,
SI
-
LAMP
VOIC
-{s
C1e
Q).59
32
OHM
08
1300W
880d61
N11311(19