EasyManua.ls Logo

Wel-Bilt M141300A - Page 36

Default Icon
70 pages
Print Icon
To Next Page IconTo Next Page
To Next Page IconTo Next Page
To Previous Page IconTo Previous Page
To Previous Page IconTo Previous Page
Loading...
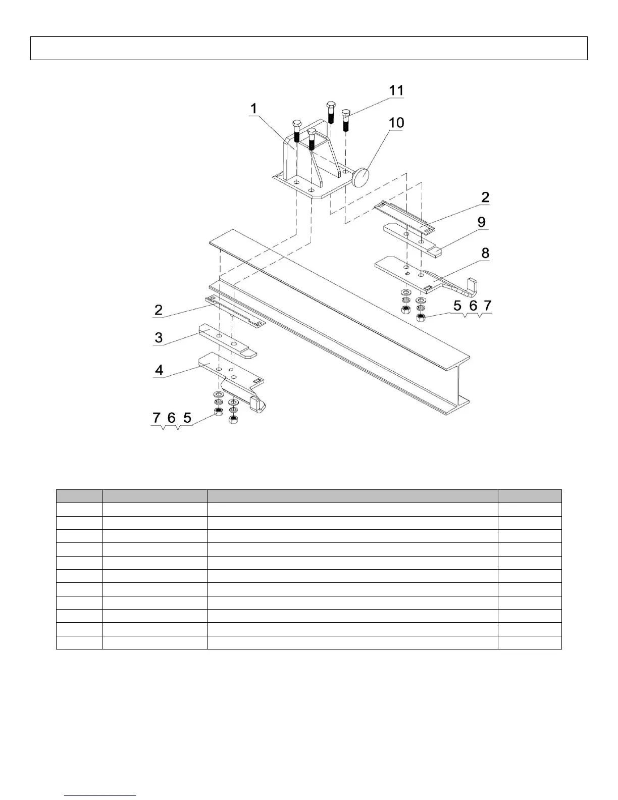
Parts Breakdown Exploded View 141300 Rev. A
36
Item
Part Number
Description
Quantity
1
N/A
Push Plate Weldment
1
2
N/A
Nylon Plate
2
3
N/A
Middle Plate-Left
1
4
N/A
Hook Plate- Left
1
5
N/A
Hex Thick Nut M12
4
6
N/A
Lock Washer Ø12
4
7
N/A
Flat Washer Ø12
4
8
N/A
Hook Plate-Right
1
9
N/A
Middle Plate-Right
1
10
N/A
Push Block
1
11
N/A
Hex Bolt M12X50
4
* Assembly available on main parts explosion item #7