EasyManua.ls Logo

Whirlpool DU900PCDB4 - Page 5

Whirlpool DU900PCDB4
9 pages
Print Icon
To Next Page IconTo Next Page
To Next Page IconTo Next Page
To Previous Page IconTo Previous Page
To Previous Page IconTo Previous Page
Loading...
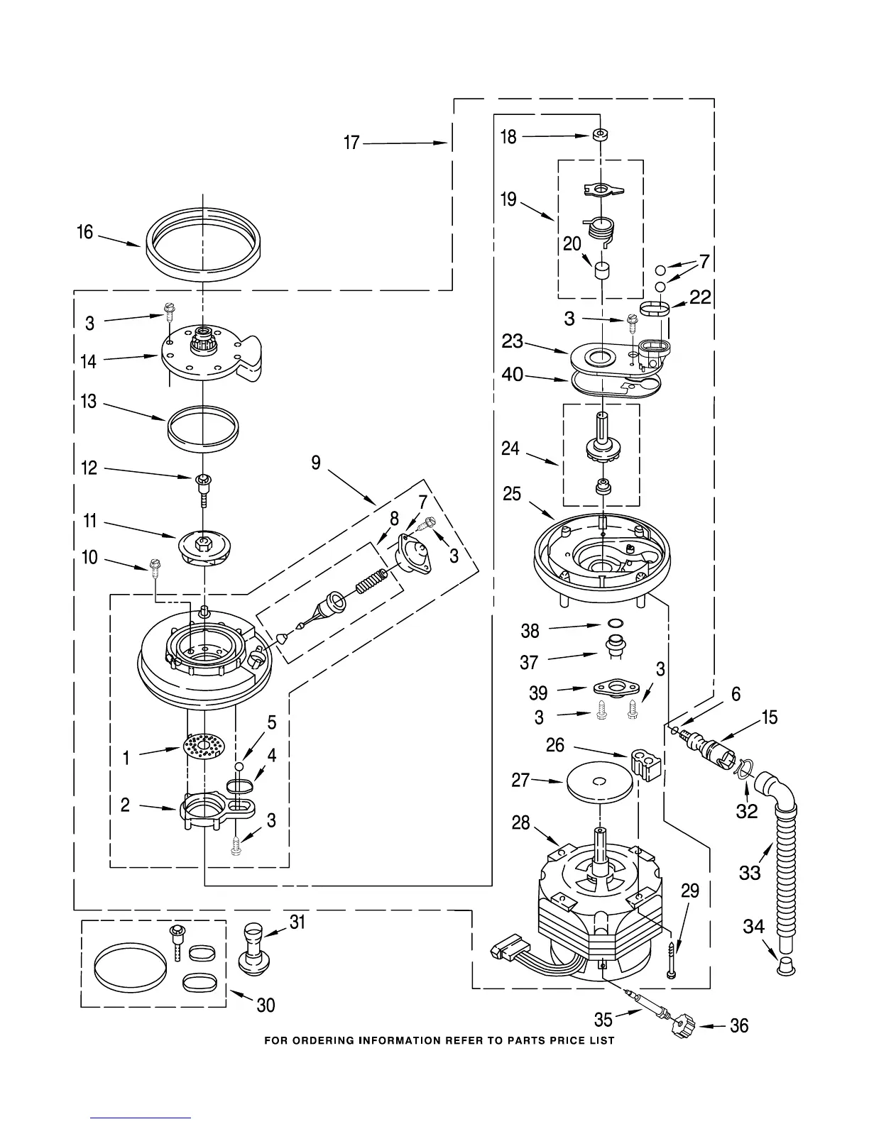
Pump Centering Tool Required
For Pump Re−Assembling
Order Item 31.
Note: The Pump Gasket
Must Be Replaced Anytime
The Pump Assembly Is
Removed And Reinstalled
In The Dishwasher.
5
PUMP AND MOTOR PARTS
870509
For Model: DU900PCDB4 ,DU900PCDQ4, DU900PCDZ4
Black, Designer White, Designer Almond

Related product manuals