EasyManua.ls Logo

Whirlpool TU800SPPB1 - Page 2

Whirlpool TU800SPPB1
7 pages
Print Icon
To Next Page IconTo Next Page
To Next Page IconTo Next Page
To Previous Page IconTo Previous Page
To Previous Page IconTo Previous Page
Loading...
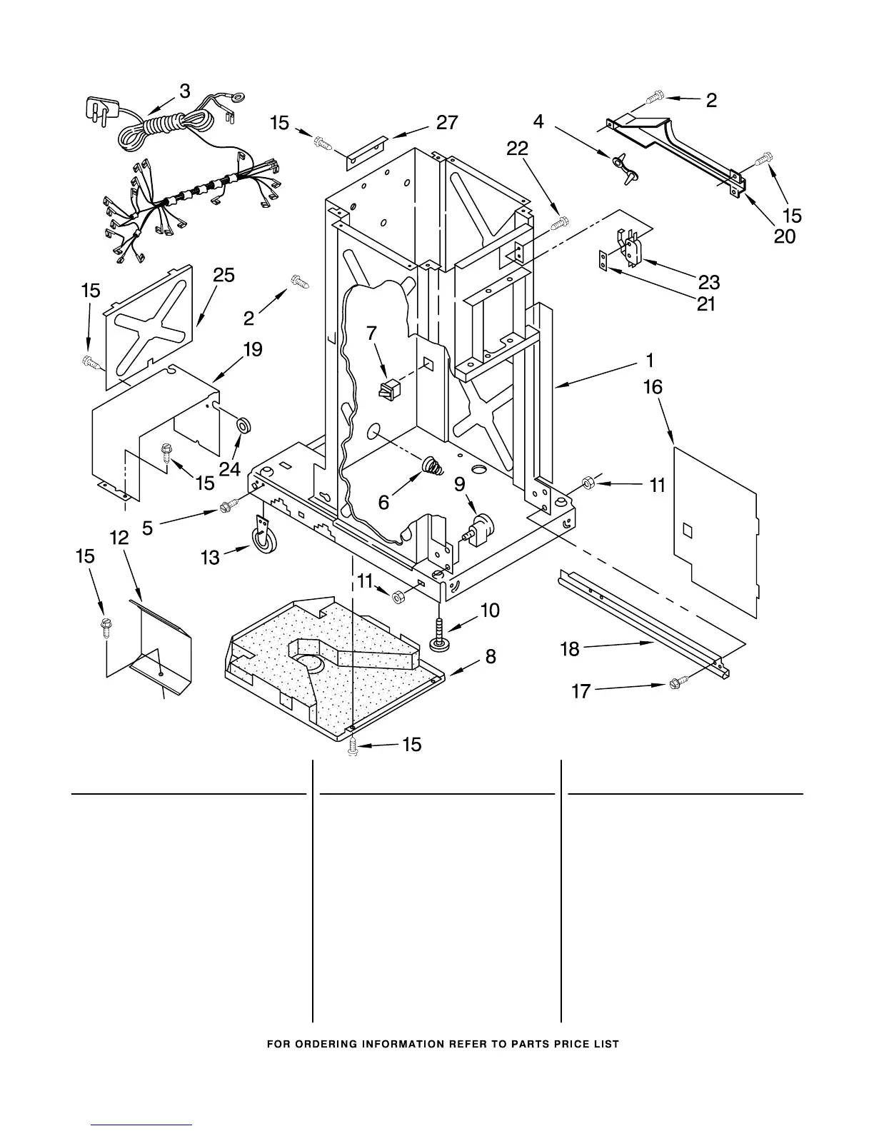
FRAME PARTS
2
For Models: TU800SPPB1, TU800SPPQ1
(Black) (White)
882775
Illus. Part
No. No. DESCRIPTION
Illus. Part
No. No. DESCRIPTION
Illus. Part
No. No. DESCRIPTION
1 Frame (Not A
Serviceable Part)
2 777070 Screw, 8−32 x 5/16
3 9872113 Harness−Cord,
Power
4 777035 Clamp, Wire
5 780034 Screw,
10−24 x 3/8
6 777180 Spring,
Container
7 4149377 Switch, Drawer
Safety
8 780437 Pan, Bottom
9 4153788 Bearing, Roller (2)
10 775526 Bolt, Leveler
11 776356 Locknut, 3/8−24
12 9870867 Shield, Slide
Track(2)
13 9870585 Wheel,
Leveler (2)
15 489478 Screw,
8 x 1/2 AB
16 9870444 Panel, Inner
17 777458 Screw, 6−32 x 3/8
18 9870976 Frame, Slide
(R.H.)
9870975 Frame, Slide
(L.H.)
19 780434 Cover, Motor
20 4149659 Shield, Harness
21 777850 Nut, Plate
22 489399 Screw, 8−32 x 5/16
23 777811 Switch, Top Limit
& Directional
24 776118 Grommet,
Motor Cover
25 608009 Plate, Cover
27 775668 Angle, Top Bracket

Related product manuals