EasyManua.ls Logo

Whitehall Dickson PB-101 - Page 8

Default Icon
26 pages
Print Icon
To Next Page IconTo Next Page
To Next Page IconTo Next Page
To Previous Page IconTo Previous Page
To Previous Page IconTo Previous Page
Loading...
WHITEHALL MANUFACTURING • P.O. BOX 3527 • City of Industry, CA 91744-
0527 U.S.A Phone (800) 782-7706 • (626) 968-6681 • Fax (626) 855-4862 • Web:
www.whitehallmfg.com
Instructions for Operation and Care of Dickson Paraffin Baths
4
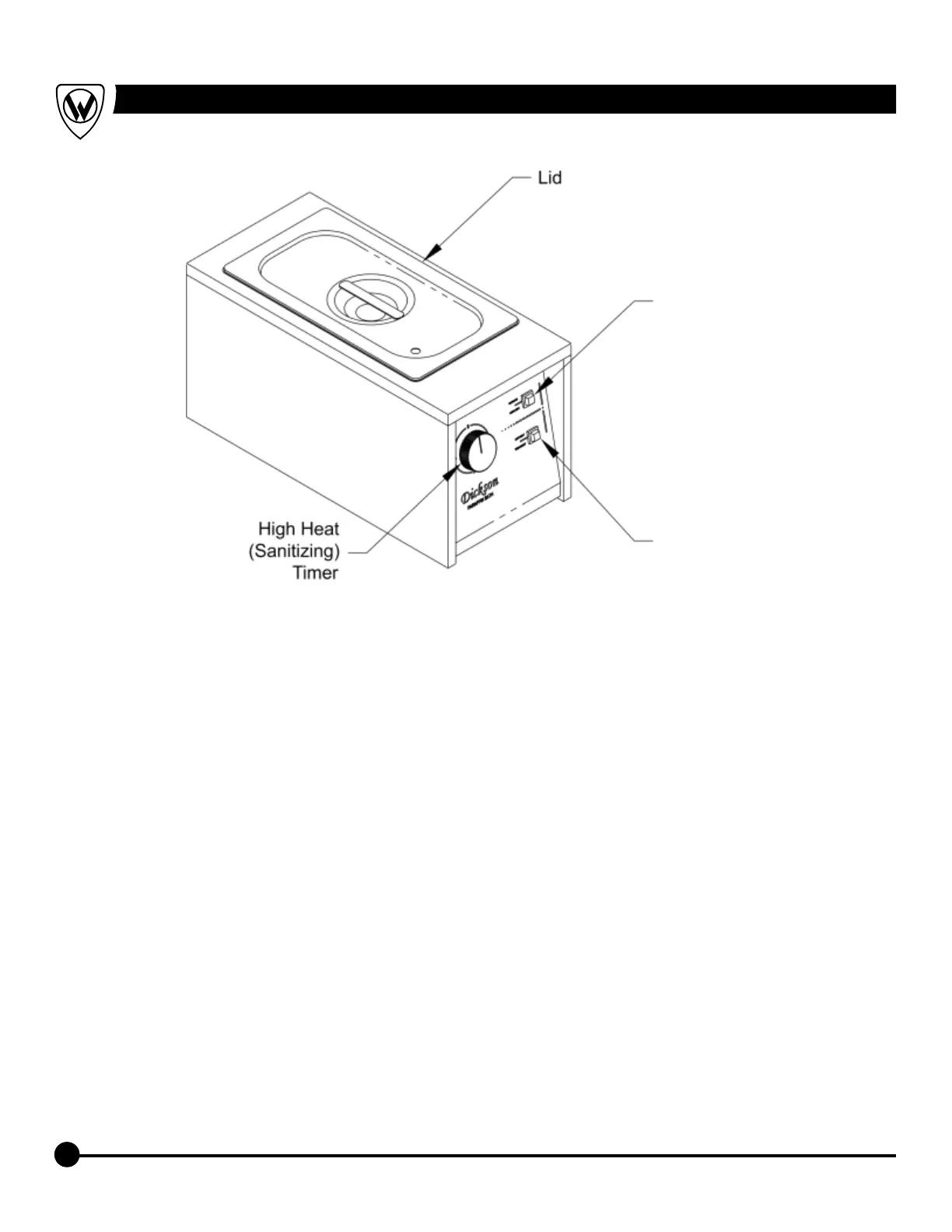
DICKSON PARAFFIN BATH MODEL PB-107
High Heat
(Sanitizing)
Indicator Light
Low Heat
(Treatment
Temperature)
Indicator Light

Related product manuals