EasyManua.ls Logo

Wildview STC-TGLBC2 - Page 16

Wildview STC-TGLBC2
29 pages
Print Icon
To Next Page IconTo Next Page
To Next Page IconTo Next Page
To Previous Page IconTo Previous Page
To Previous Page IconTo Previous Page
Loading...
!!!"!#$%&#'!()*"(+*,,
-+$$,./'',000123415678,
65,
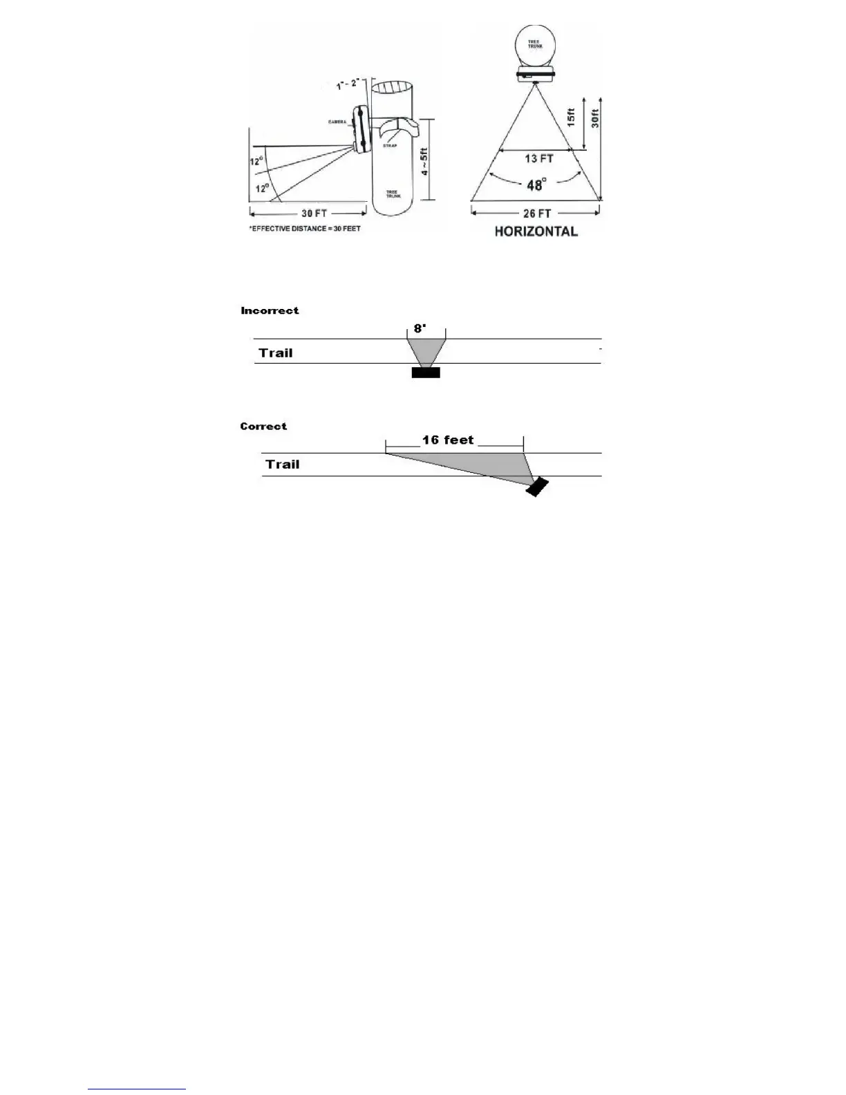
(Example:!Mounting)!
(Example:!Trail!Setup)!!

Related product manuals