EasyManua.ls Logo

Willis WST18MC16S - Page 15

Willis WST18MC16S
91 pages
Print Icon
To Next Page IconTo Next Page
To Next Page IconTo Next Page
To Previous Page IconTo Previous Page
To Previous Page IconTo Previous Page
Loading...

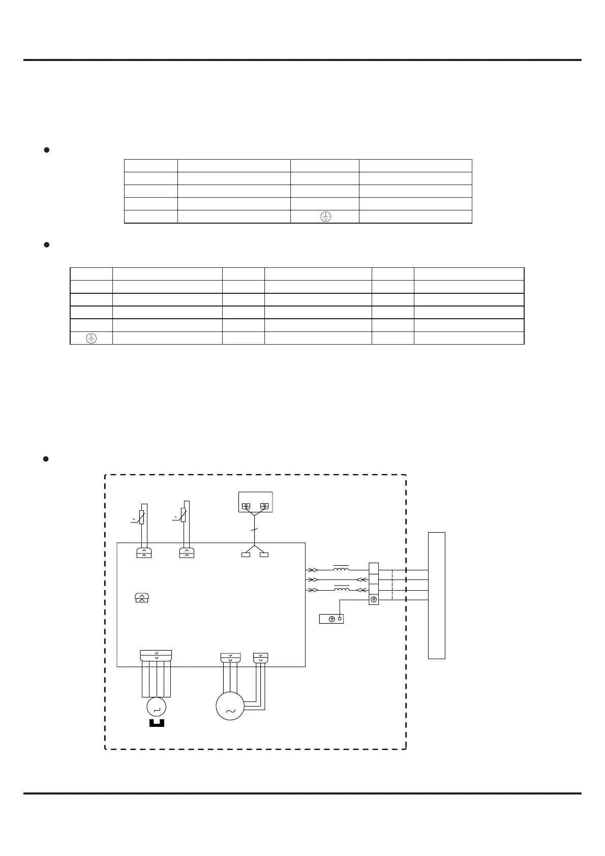
6FKHPDWLF'LDJUDP
6\PERO 3DUWVQDPH 6\PERO &RORUV\PERO 6\PERO &RORUV\PERO
& &%% %1 %52:1 :+ :+,7(
& &%% %8 %/8( <( <(//2:
6$7 29(5/2$' %. %/$&. 5' 5('
&203 &2035(6625 2* 25$1*( <(*1 <(//2:*5((1
3527(&7,9(($57+ :+ :+,7(
6FKHPDWLF'LDJUDP
(OHFWULFDO'DWa
0HDQLQJRIPDUNV
(OHFWULFDOZLULQJ
2XWGRRU8QLW
,QGRRU8QLW
,QGRRU8QLW
6\PERO &RORUV\PERO 6\PERO &RORUV\PERO
%8 %/8( %1 %52:1
<( <(//2: *1 *5((1
5' 5(' %. %/$&.
<(*1 <(//2:*5((1 3527(&7,9(($57+
7KHVHFLUFXLWGLDJUDPVDUHVXEMHFWWRFKDQJHZLWKRXWQRWLFHSOHDVHUHIHUWRWKHRQHVXSSOLHGZLWKWKHXQLW
FAN MOTOR
M1
PG
PGF
AP2
PE
CAP
JUMP
DISP2
TEM.SENSOR
TUBE ROOM
TEM.SENSOR
MOTOR
SWING
0
0
AC-L
N
COM-OUT
DISP1
DISPLAY
SWING-UD
4YEGN
PRINTED CIRCUIT BOARD
EVAPORATOR
M2
ROOM
TUBE
AP1
RT2
RT1
2BK
3BN
3
XT
2
N(1)
1BU
OUTDOOR UNIT

Related product manuals