EasyManua.ls Logo

wla 60DW520 - Aesthetic Panel Installation; Semi-integrated Model; Full-integrated Model

wla 60DW520
Print Icon
To Next Page IconTo Next Page
To Next Page IconTo Next Page
To Previous Page IconTo Previous Page
To Previous Page IconTo Previous Page
Loading...
20
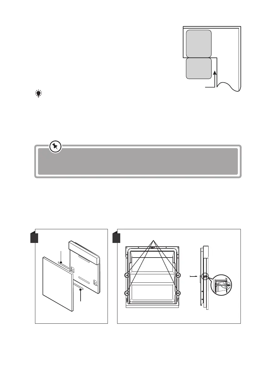
Step 2. Aesthetic panel's dimensions and installation
The aesthetic wooden panel could be processed according to the The aesthetic wooden panel could be processed according to the
installation drawings.installation drawings.
The aesthetic wooden panel could be processed according to the
installation drawings.
A
Magical paster
Magical paster
Magical paster A and magical paster B be disjoinedon ,magical paster A on the
aesthetic wooden panel and felted magical paster B of the outer door of dishwasher
(see figure A). After positioning of the panel , fix the panel onto the outer door by
screws and bolts (See figure B)
.
Semi-integrated model
B
2.Pin up the four long screws
1.Take away the four short screws
2.If dishwasher is in stalled at the corner of the cabinet,
there should be some space when the door is opened.
CabinetDishwasher
Door of
dishwasher
Minimum space
of 50mm
NOTE:
Depending on where your electrical outlet is, you may need to cut a hole in the
opposite cabinet side.
3
Check level
front to back
Check level
side to side
Step 4. Levelling the dishwasher
Dishwasher must be level for proper dish rack operation and wash performance.
Place a spirit level on door and rack track inside the tub as shown to check that the
dishwasher is level.
Level the dishwasher by adjusting the three levelling legs individually.
When level the dishwasher, please pay attention not to let the dishwasher tip over.
1.
2.
3.
The maximum adjustment height of the feet is 50 mm.
NOTE:
20