EasyManua.ls Logo

Wolfcraft 5121000 - Page 4

Wolfcraft 5121000
44 pages
Print Icon
To Next Page IconTo Next Page
To Next Page IconTo Next Page
To Previous Page IconTo Previous Page
To Previous Page IconTo Previous Page
Loading...
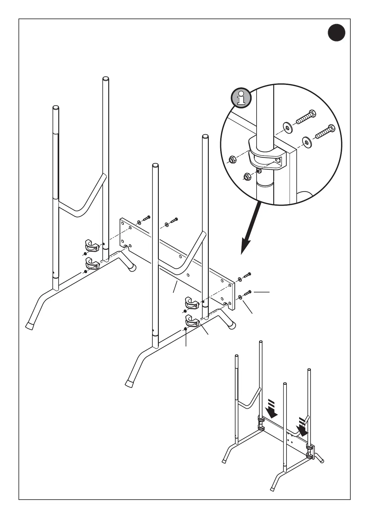
4
2
4 x
2.3
8 x
A 6,4
DIN 9021
8 x
M 6 x 30
DIN 931
8 x
M 6
DIN 985
2.4
1 x