EasyManua.ls Logo

Woods TS44 - Page 35

Woods TS44
40 pages
Print Icon
To Next Page IconTo Next Page
To Next Page IconTo Next Page
To Previous Page IconTo Previous Page
To Previous Page IconTo Previous Page
Loading...
Parts 35
MAN0814 (3/11/2010)
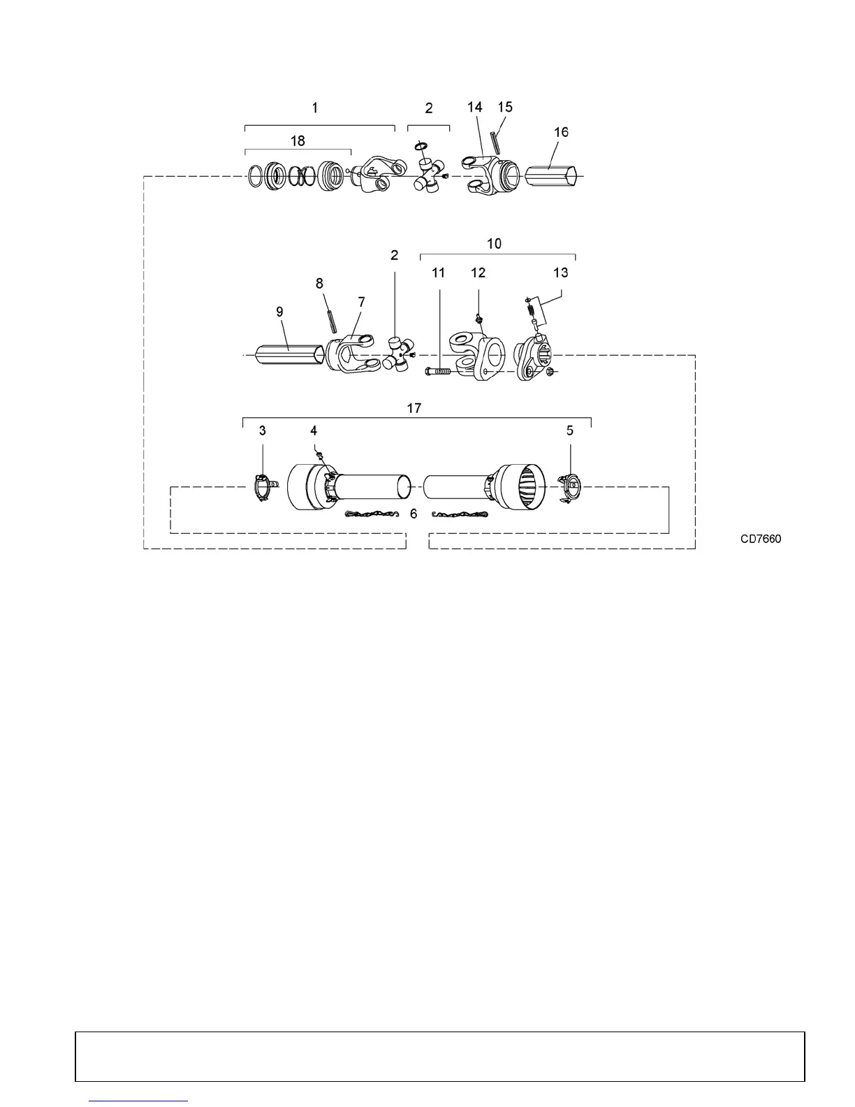
1031908 - COMER SHEAR BOLT DRIVE ASSEMBLY (OPTIONAL)
REF PART QTY DESCRIPTION
A 1031908 1 Complete 540 driveline and shear bolt assembly
1 1032411 1 Complete collar yoke C12 1-3/8
2 41534 2 Cross & bearing kit
3 37167 1 Collar, outer tube
4 30922 6 Shield retainer
5 37172 1 Collar, inner tube
6 30917 2 Shield tether chains
7 1032414 1 Yoke, inner tube
8 1032415 1 Flexible pin
9 1032416 1 Inner profile tube
10 1032428 1 Shear yoke assembly
11 1032429 1 Bolt and Nut M6 x 40 cl 8.8
12 1032430 1 Grease fitting
13 30913 1 1-3/8 Push pin set
14 1032423 1 Yoke, outer tube
15 1001305 1 Flexible pin
16 1032425 1 Outer profile tube
17 1025873 1 Complete shield kit
18 1001340 1 Lock collar repair kit

Related product manuals