EasyManua.ls Logo

Xiaomi mi Smart Plug 2 - Page 13

Xiaomi mi Smart Plug 2
60 pages
Print Icon
To Next Page IconTo Next Page
To Next Page IconTo Next Page
To Previous Page IconTo Previous Page
To Previous Page IconTo Previous Page
Loading...
Read this manual carefully before use,
and retain it for future reference.
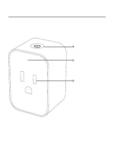
Product Overview
Power Buon
Indicator
Power Supply
Socket
Thank you for choosing this product. It
is a one socket plug that can turn the
power supply on and off and it has a
built-in protection chip that will notify
12

Related product manuals