EasyManua.ls Logo

Xtralis VESDA VLP - Page 320

Xtralis VESDA VLP
367 pages
Print Icon
To Next Page IconTo Next Page
To Next Page IconTo Next Page
To Previous Page IconTo Previous Page
To Previous Page IconTo Previous Page
Loading...
VESDA Pipe Network Installation Guide VESDA by Xtralis
22 www.xtralis.com
Generally, a VESDA VLP or VESDA VLS detector should not monitor more than four AHUs, a VESDA VLC
should not monitor more than two, and a VESDA VLF should not monitor more than one AHU.
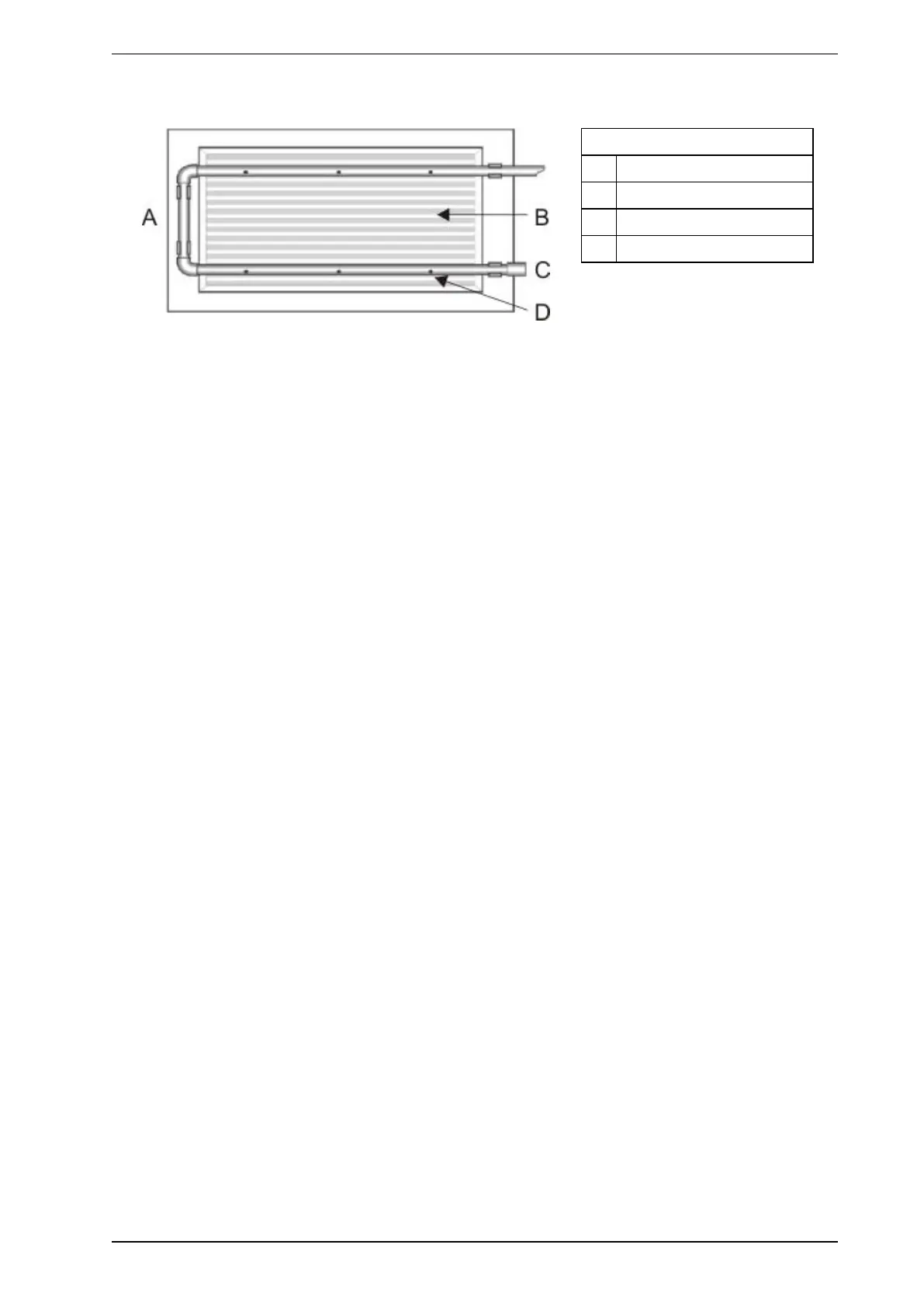
Legend
A Sampling Pipe
B Return grille
C End cap without a hole
D Sampling hole
Figure 5-10: Sampling over a return air grille
5. Drill sampling holes as specified in the design documents.
6. The pipework must always have an end cap without a hole in it.
5.2.2 Supply Air Sampling
Refer to Return Air Grilles (Section 5.2.1), or use a Duct design (Section 5.2.3).

Table of Contents

Other manuals for Xtralis VESDA VLP

Related product manuals