EasyManua.ls Logo

Yale B827

Yale B827
60 pages
To Next Page IconTo Next Page
To Next Page IconTo Next Page
To Previous Page IconTo Previous Page
To Previous Page IconTo Previous Page
Loading...
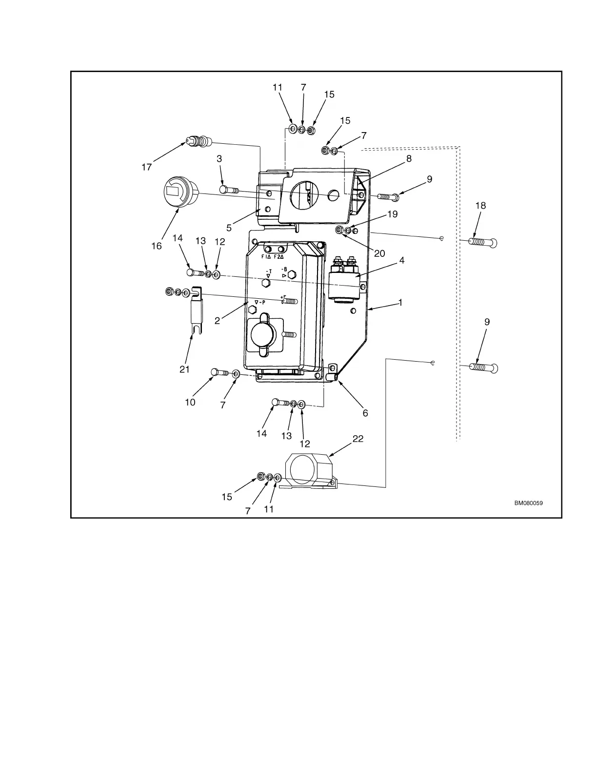
1. MOUNTING PLATE
2. CONTROLLER
3. CAPSCREW
4. CONTACTOR
5. BATTERY CONNECTOR MOUNT
6. WIRE CLAMP
7. LOCKWASHER
8. CONVERTER (12 V TRUCKS ONLY)
9. CAPSCREW
10. CAPSCREW
11. WASHER
12. WASHER
13. LOCKWASHER
14. CAPSCREW
15. NUT
16. DISPLAY
17. IGNITION SWITCH
18. CAPSCREW
19. LOCKWASHER
20. NUT
21. FUSE (250 AMP)
22. HORN
Figure 7. Control Panel (MPW045/050-E, MSW020/025-E, and MSW025/030-F)
2200 YRM 1007 Repairs
11

Table of Contents

Other manuals for Yale B827

Related product manuals