EasyManua.ls Logo

Yale MRW030-E - Page 60

Yale MRW030-E
98 pages
Print Icon
To Next Page IconTo Next Page
To Next Page IconTo Next Page
To Previous Page IconTo Previous Page
To Previous Page IconTo Previous Page
Loading...
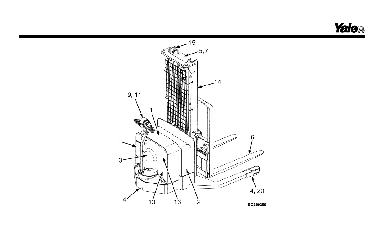
Figure 15. Maintenance Points - MSW025/030-F
Maintenance Schedule
58

Related product manuals