EasyManua.ls Logo

Yale MSW025-E - Page 15

Yale MSW025-E
60 pages
Print Icon
To Next Page IconTo Next Page
To Next Page IconTo Next Page
To Previous Page IconTo Previous Page
To Previous Page IconTo Previous Page
Loading...
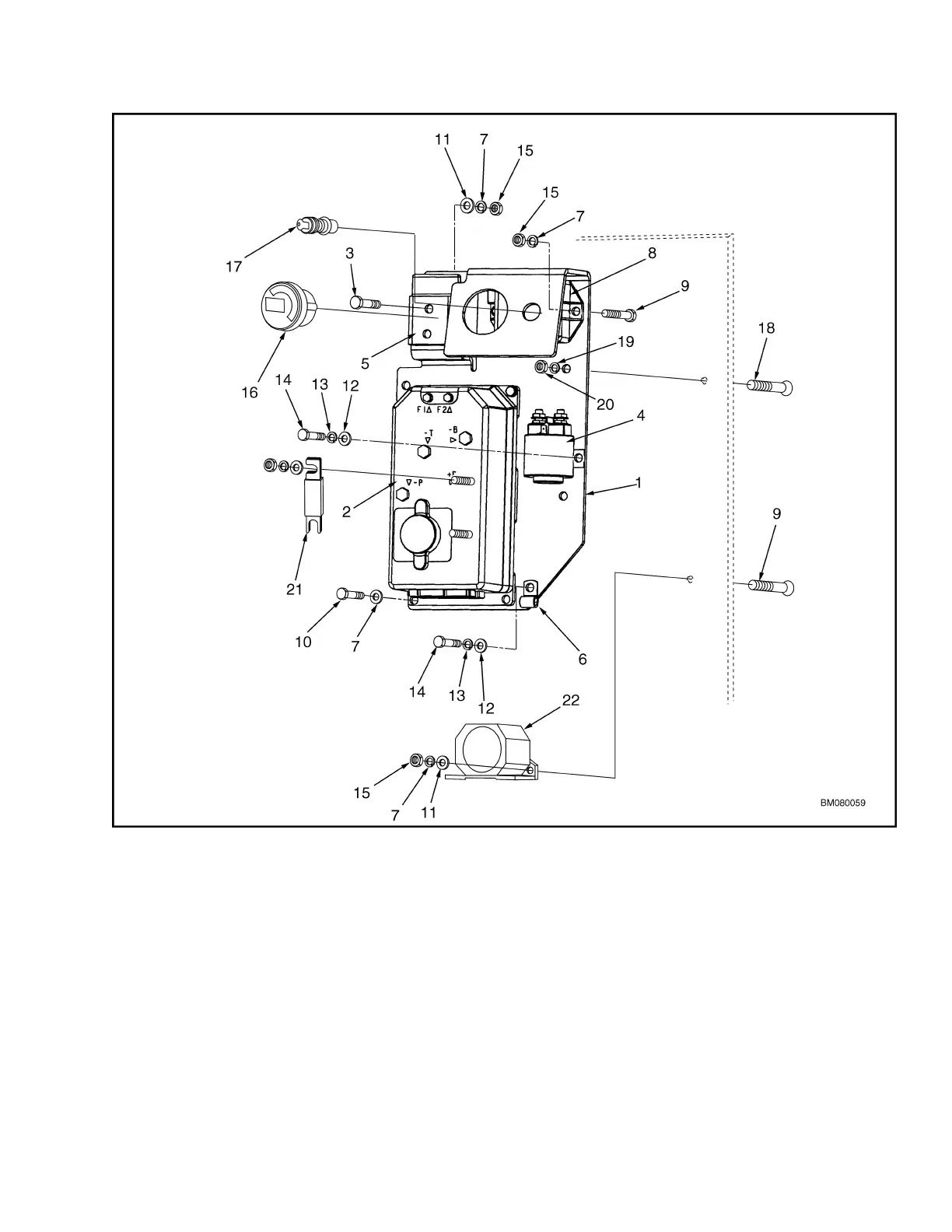
1. MOUNTING PLATE
2. CONTROLLER
3. CAPSCREW
4. CONTACTOR
5. BATTERY CONNECTOR MOUNT
6. WIRE CLAMP
7. LOCKWASHER
8. CONVERTER (12 V TRUCKS ONLY)
9. CAPSCREW
10. CAPSCREW
11. WASHER
12. WASHER
13. LOCKWASHER
14. CAPSCREW
15. NUT
16. DISPLAY
17. IGNITION SWITCH
18. CAPSCREW
19. LOCKWASHER
20. NUT
21. FUSE (250 AMP)
22. HORN
Figure 7. Control Panel (MPW045/050-E, MSW020/025-E, and MSW025/030-F)
2200 YRM 1007 Repairs
11

Table of Contents

Related product manuals