EasyManua.ls Logo

Yale MSW040-E - Page 14

Yale MSW040-E
98 pages
Print Icon
To Next Page IconTo Next Page
To Next Page IconTo Next Page
To Previous Page IconTo Previous Page
To Previous Page IconTo Previous Page
Loading...
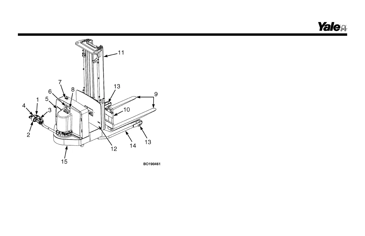
1. CONTROL HANDLE
2. SPEED/DIRECTION CONTROL
3. LIFT/LOWER BUTTONS
4. HORN
5. OPERATOR MANUAL
6. BATTERY INDICATOR (OPTIONAL)
7. BATTERY CONNECTOR
8. KEY SWITCH
9. FORKS
10. CARRIAGE
11. MAST
12. BATTERY COMPARTMENT
13. LOAD WHEEL
14. BASE ARM
15. DRIVE/STEER TIRE
Figure 3. Major Components of the High Lift MSW030/040-E Truck
Model Description
12

Related product manuals