EasyManua.ls Logo

Yale Veracitor GLC060VX - Page 22

Yale Veracitor GLC060VX
204 pages
Print Icon
To Next Page IconTo Next Page
To Next Page IconTo Next Page
To Previous Page IconTo Previous Page
To Previous Page IconTo Previous Page
Loading...
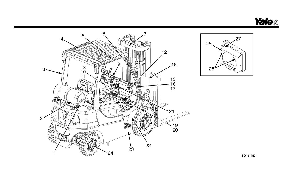
Figure 5. Warning and Safety Labels for Lift Truck Models GP/GLP/GDP040-070VX (D875) (Sheet 1 of 3)
Model Description
20

Table of Contents

Related product manuals