EasyManua.ls Logo

Yardmaster 1013 GEYZ - Page 12

Yardmaster 1013 GEYZ
24 pages
Print Icon
To Next Page IconTo Next Page
To Next Page IconTo Next Page
To Previous Page IconTo Previous Page
To Previous Page IconTo Previous Page
Loading...
11
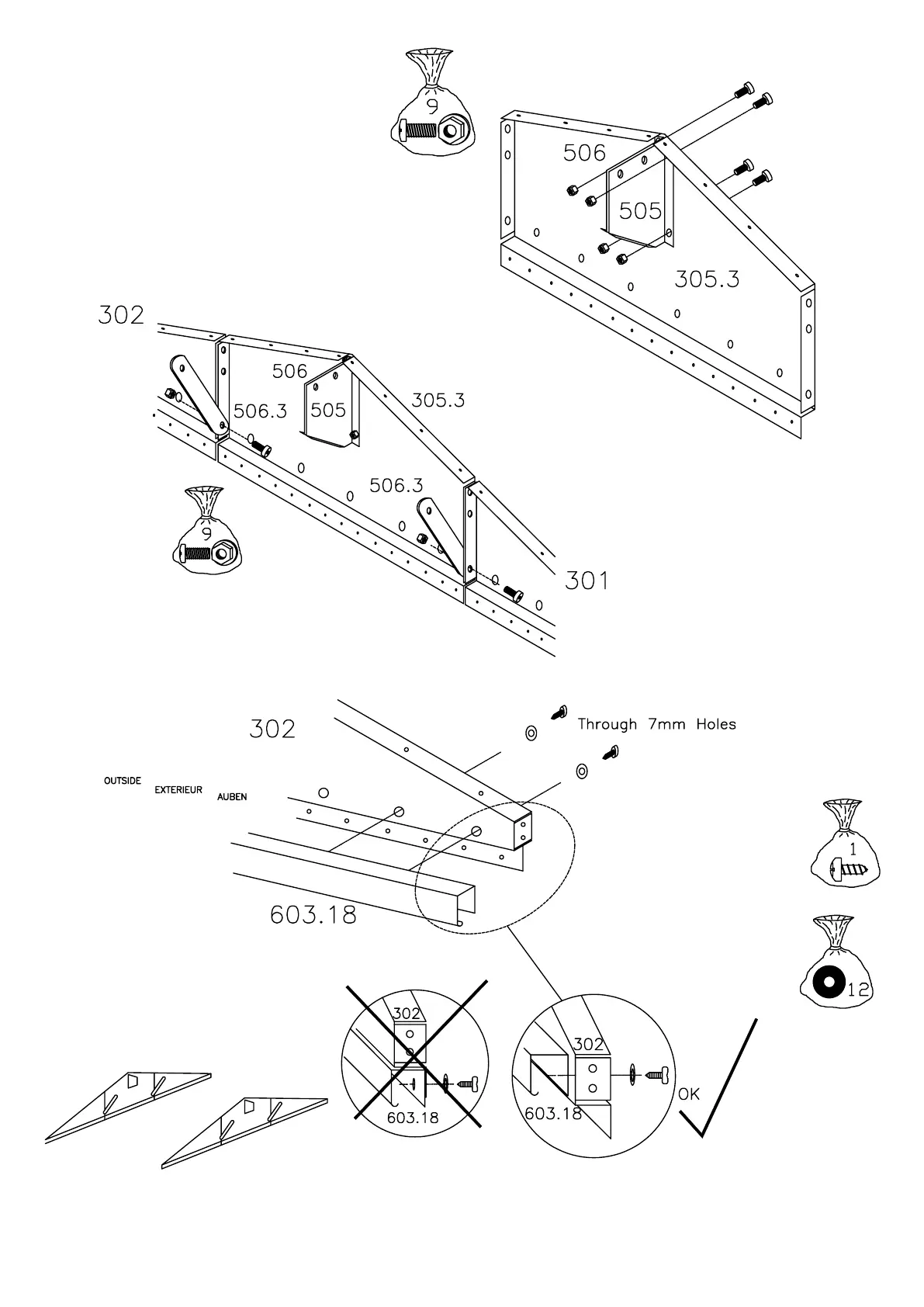
NA ZEWNĄTRZ
PRZEZ OTWORY 7MM

Related product manuals