EasyManua.ls Logo

Zenith Y504B - Page 51

Zenith Y504B
88 pages
Print Icon
To Next Page IconTo Next Page
To Next Page IconTo Next Page
To Previous Page IconTo Previous Page
To Previous Page IconTo Previous Page
Loading...
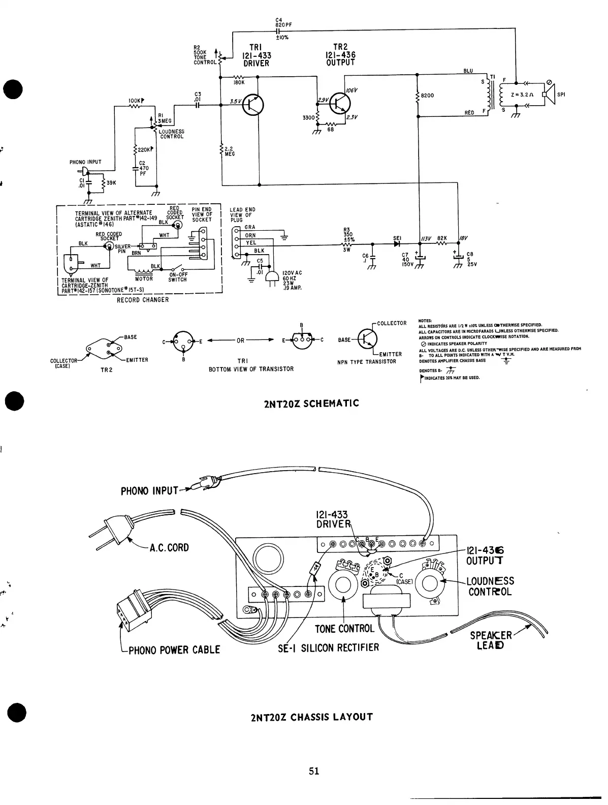
2NT20Z
SCHEMATIC
2NT20Z
CHASSIS
LAYOUT
51

Related product manuals