EasyManua.ls Logo

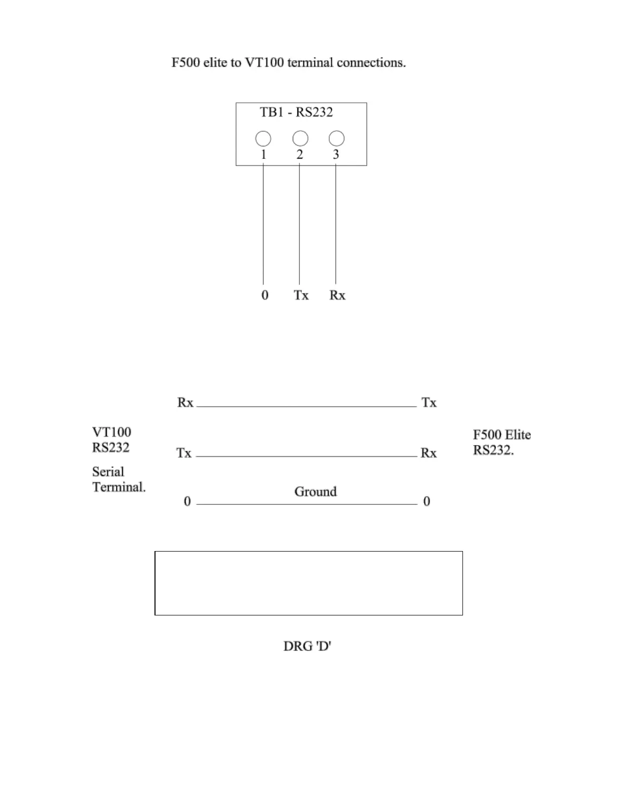
4B F500 Elite - F500 Elite to VT100 Terminal Connections

4B F500 Elite
29 pages
Print Icon
To Next Page IconTo Next Page
To Next Page IconTo Next Page
To Previous Page IconTo Previous Page
To Previous Page IconTo Previous Page
Loading...
Watchdog NTC to F500 PGW CAI REV0 July 2014
22
On more recent versions of the F500 TB1 may be a
standard 9 pin Dee connector. This Dee connector is
designed to work with a standard 9 pin to 9 pin serial lead
for monitoring the F500